EasyManua.ls Logo

Madas M16/RM N.C. - Page 4

Madas M16/RM N.C.
9 pages
Print Icon
To Next Page IconTo Next Page
To Next Page IconTo Next Page
To Previous Page IconTo Previous Page
To Previous Page IconTo Previous Page
Loading...
MADAS
© 2004 MADAS s.r.l.
pag. 4
M16/RM N.C. - M16/RMO N.C.
Capitolo 5 /
Chapter 5
MADAS - Manuale Tecnico 2004 - Edizione 1
MADAS - 2004 Technical Manual - Ediction 1
®
ELETTROVALVOLE A RIARMO MANUALE NORMALMENTE
CHIUSE TIPO M16/RM N.C. - M16/RMO N.C.
NORMALLY-CLOSED MANUAL RESET SOLENOID VALVES
TYPE M16/RM N.C. - M16/RMO N.C.
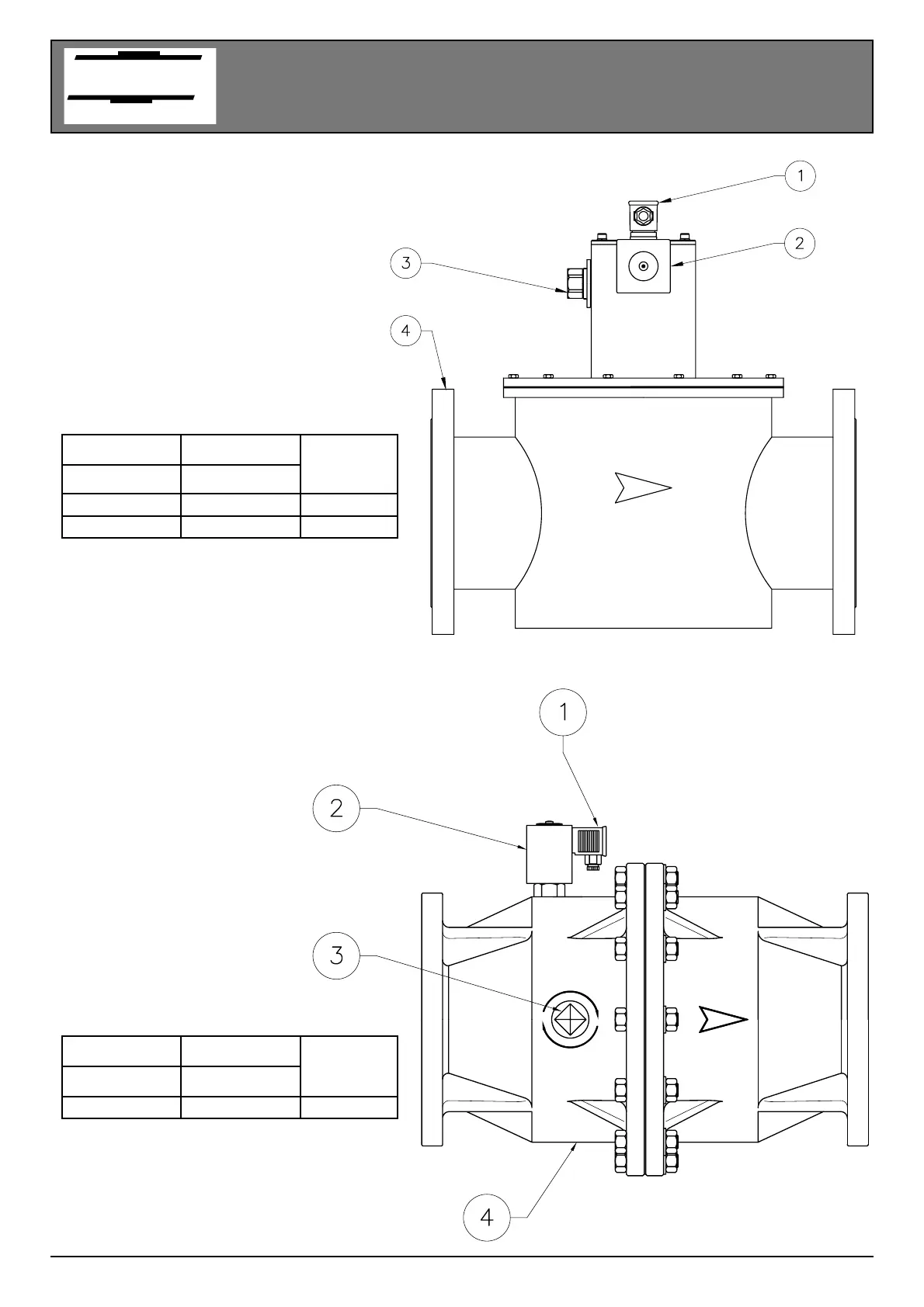
1 - Connettore
2 - Bobina elettrica
3 - Manopola di riarmo
4 - Corpo in alluminio
1 - Electrical connector
2 - Electrical coil
3 - Reset handle
4 - Aluminium body
g. 3
g. 4
P. max 500 mbar P. max 6 bar
attacchi
connections
codice /
code
codice /
code
CX11C CX11C0000 DN 125
CX12C CX12C0000 DN 150
P. max 500 mbar P. max 6 bar
attacchi
connections
codice /
code
codice /
code
CX13C CX13C0000 DN 200

Related product manuals