EasyManua.ls Logo

Maeda HIRD MC815 - Page 20

Maeda HIRD MC815
424 pages
Print Icon
To Next Page IconTo Next Page
To Next Page IconTo Next Page
To Previous Page IconTo Previous Page
To Previous Page IconTo Previous Page
Loading...
11
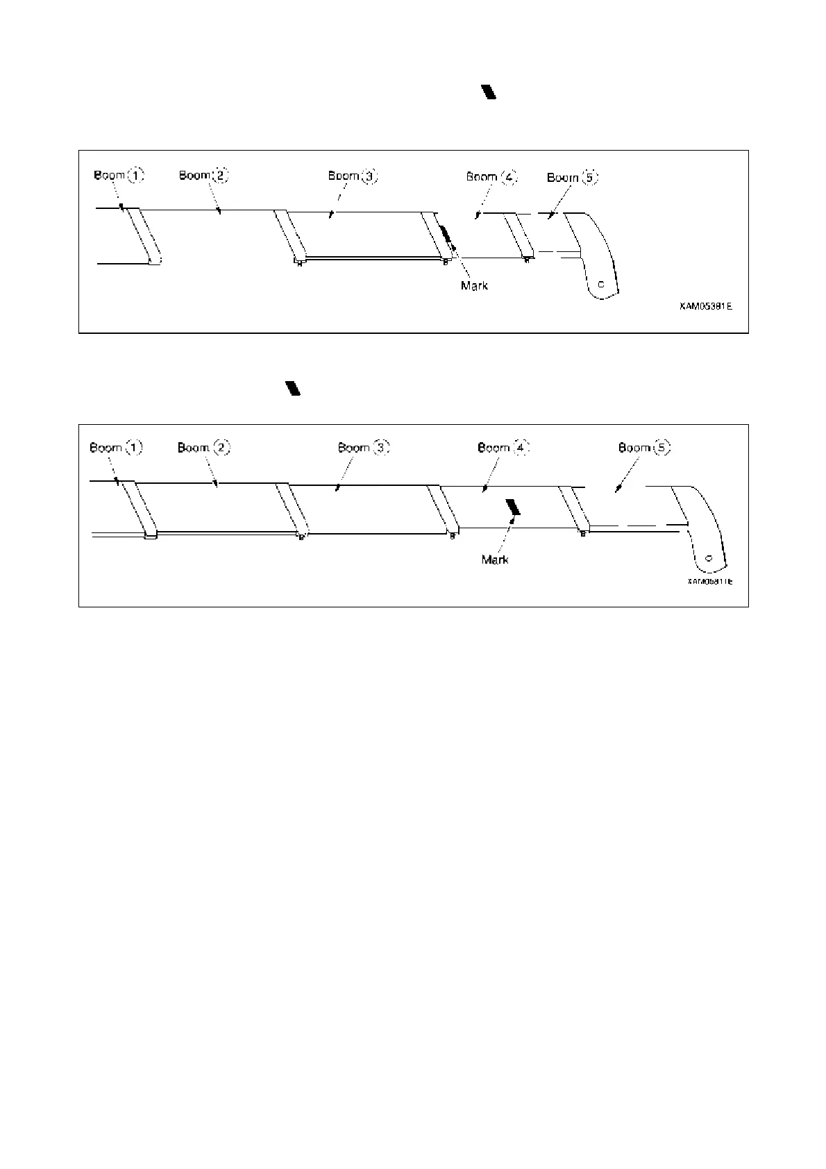
4. Booms (1) + (2) + (3) + (4): With booms (2) and (3) fully extended, booms (4) and (5) are in
a state of intermediate extension, where half of the “
mark” is exposed from boom (3).
If booms (4) and (5) are extended to some extent even only slightly, work should be
performed in accordance with the performance of this column.
5. Booms (1) + (2) + (3) + (4) + (5): All the main booms extended fully.
If more than half of the “
mark” of boom (4) is exposed from boom (3), work should be
performed in accordance with the performance of this column.

Table of Contents

Related product manuals