EasyManua.ls Logo

Maeda HIRD MC815 - Page 91

Maeda HIRD MC815
424 pages
Print Icon
To Next Page IconTo Next Page
To Next Page IconTo Next Page
To Previous Page IconTo Previous Page
To Previous Page IconTo Previous Page
Loading...
82
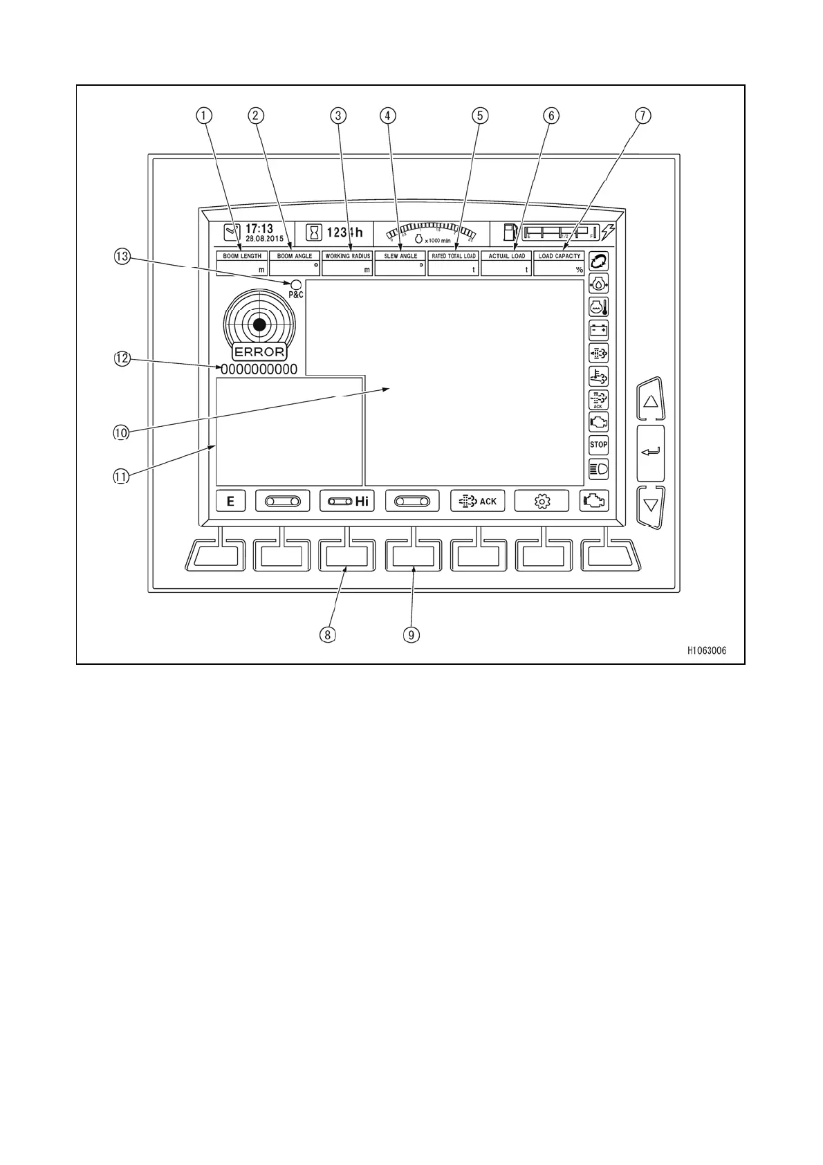
[2] MONITOR DISPLAY (TRAVELLING MODE)
(1) BOOM LENGTH
(2) BOOM ANGLE
(3) WORKING RADIUS
(4) SLEW ANGLE
(5) RATED TOTAL LOAD
(6) ACTUAL LOAD
(7) LOAD CAPACITY
(8) MODE SELECTOR
SWITCH (2) (Travelling
Hi/Low)
(9) MODE SELECTOR
SWITCH (3) (Pick/Carry)
(10) FRONT VIEW CAMERA
MONITOR
(11) LEFT SIDE-VIEW
CAMERA MONITOR
(12) Error codes
(13) Pick & Carry position

Table of Contents

Related product manuals