EasyManua.ls Logo

Maier 252 - Plunger (Rib Shaft) Adjustment

Default Icon
34 pages
Print Icon
To Next Page IconTo Next Page
To Next Page IconTo Next Page
To Previous Page IconTo Previous Page
To Previous Page IconTo Previous Page
Loading...
29
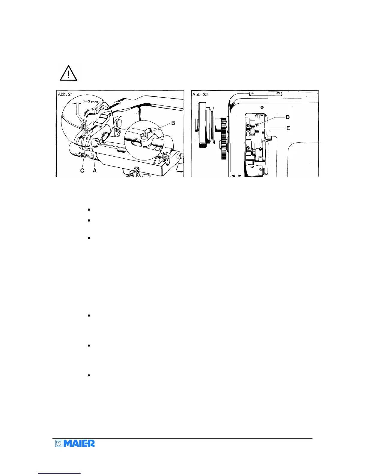
Plunger (rib shaft) adjustment
Switch off the machine!
Risk of injury due to the machine being started again inadvertently.
Radial position
Correct adjustment of the needle is prerequisite for adjusting the plunger (rib shaft).
When correctly adjusted, the plunger (rib shaft) should stop with its tip A approx. 2 –
3 mm in front of the needle as the needle point passes over it,
If it stops too far in front of, or behind the needle, an adjustment must be made. To do
this, slacken screw B. Using an open-ended spanner on the flats provided on the
plunger shaft, the plunger (rib shaft) can then be adjusted backwards or forwards.
Retighten screw B firmly afterwards.
Axial position
The same requirement holds for all classes, i.e. that the plunger (rib shaft) stops
exactly in the middle under the cloth retainer.
If this is not the case, it can be adjusted as follows:
Classes 220, 221, 271:
Align the plunger (rib shaft) accurately by adjusting the pivot screws.
See spare parts list, page 4, items 19 and 20.
Classes 240, 241, 251, 261:
Align the plunger (rib shaft) by adjusting the set collar.
See spare parts list, page 4, item 25.
Classes 252,352
Left-hand plunger (rib shaft): Align the plunger (rib shaft) by adjusting the set collar.
See spare parts list, page 4, item 35
Right-hand plunger (rib shaft): Align the plunger (rib shaft) accurately by adjusting the
pivot screws.
See spare parts list, page 4, item 73.

Table of Contents

Related product manuals