EasyManua.ls Logo

Marantz 1060 - Page 6

Marantz 1060
21 pages
Print Icon
To Next Page IconTo Next Page
To Next Page IconTo Next Page
To Previous Page IconTo Previous Page
To Previous Page IconTo Previous Page
Loading...
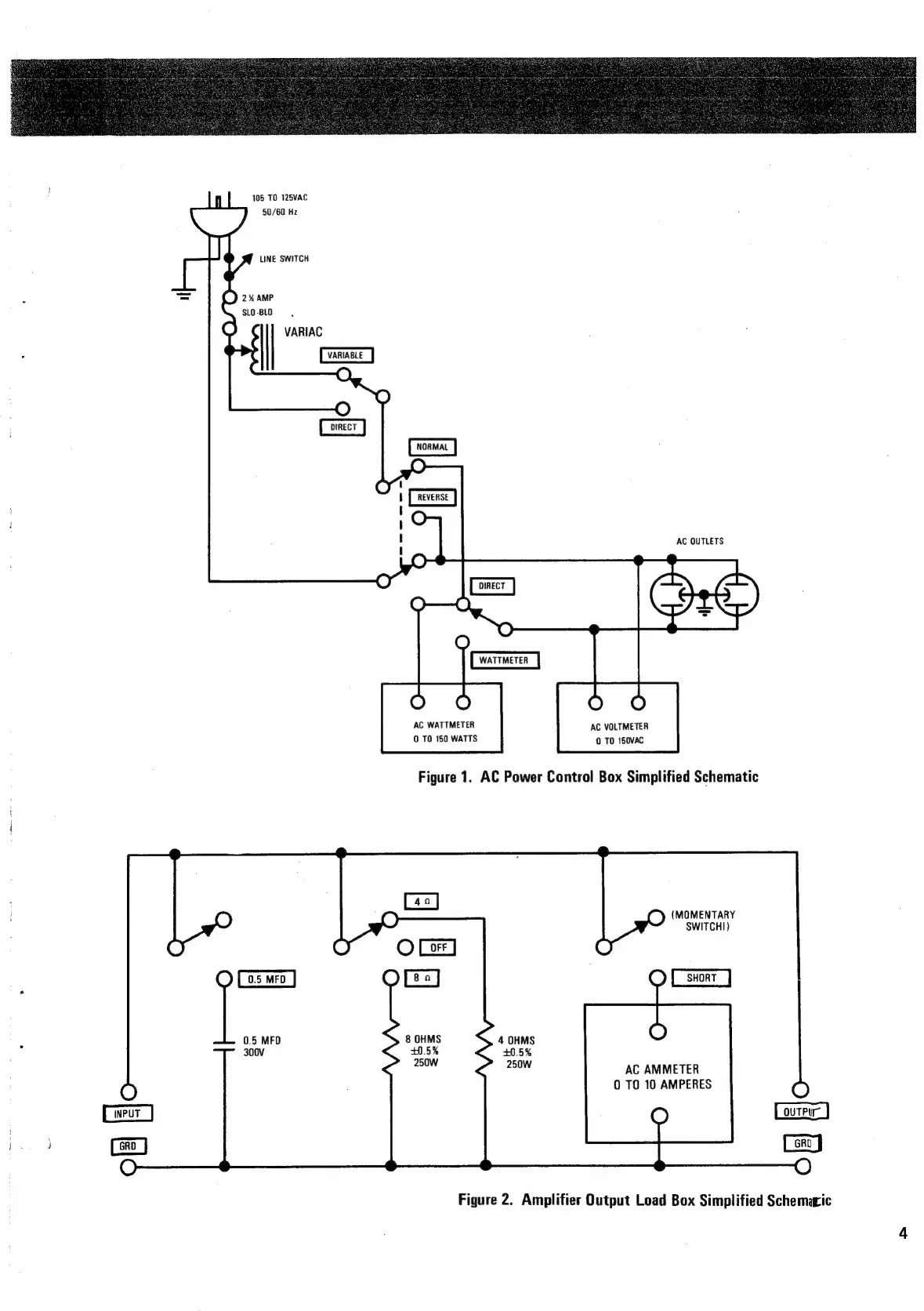
105
TO
125VAC
50/60
Hz
LINE
SWITCH
SLO-BLO
VARIAC
1
t
t
I
AC
OUTLETS
AC
WATTMETER
0
TO
150
WATTS
AC
VOLTMETER
0
TO
1S0VAC
Figure
1.
AC
Power
Control
Box
Simplified
Schematic
O O
()
(MOMENTARY
SWITCHI)
3 O
oF
D
@
e
0.5
MFO
8
OHMS
4
OHMS
300V
10.5%
40.5%
250W
250W
AC
AMMETER
0
TO
10
AMPERES
oo
O
O
Figure
2.
Amplifier
Qutput
Load
Box
Simplified
Schematic

Other manuals for Marantz 1060

Related product manuals