EasyManua.ls Logo

Marantz PM400 - Page 20

Marantz PM400
27 pages
Print Icon
To Next Page IconTo Next Page
To Next Page IconTo Next Page
To Previous Page IconTo Previous Page
To Previous Page IconTo Previous Page
Loading...
e
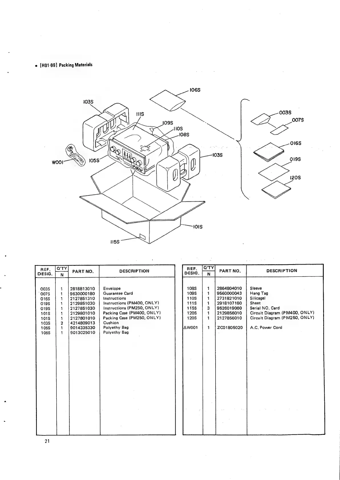
(H01-99]
Packing
Materials
106S
016s
019s
120S
rw
|
2127801010
4214809013
9014335330
9013025010
Packing
Case
(PM250,
ONLY)
Cushion
Polyethy
Bag
Polyethy
Bag
2127856010
Circuit
Diagram
(PM250,
ONLY)
ZC01805020
|
A.C.
Power
Cord
1
2818813010
Envelope
2864804010
Sleeve
1
9630000180
Guarantee
Card
9560000043
Hang
Tag
1
2127851310
Instructions
2731821010
Silicagel
1
2129851030
Instructions
(PM400,
ONLY)
2918107160
Sheet
1
2127851030
Instructions
(PM250,
ONLY)
9526019060
Serial
NO.
Card
1
2129801010
Packing
Case
(PM400,
ONLY)
2129856010
Circuit
Diagram
(P
M400,
ONLY)
1
2
1
1
21

Related product manuals