EasyManua.ls Logo

Marantz SD4000 - Flywheel Parts; Tape Operation Switch Locations

Marantz SD4000
47 pages
Print Icon
To Next Page IconTo Next Page
To Next Page IconTo Next Page
To Previous Page IconTo Previous Page
To Previous Page IconTo Previous Page
Loading...
@
(U):
for
U.S.A.
®
(C):
for
Canada
©
(N):
for
Europe
®
(A):
for
Australia
PART
NO
DESCRIPTION
DGOE
:
4383106400
4383106020
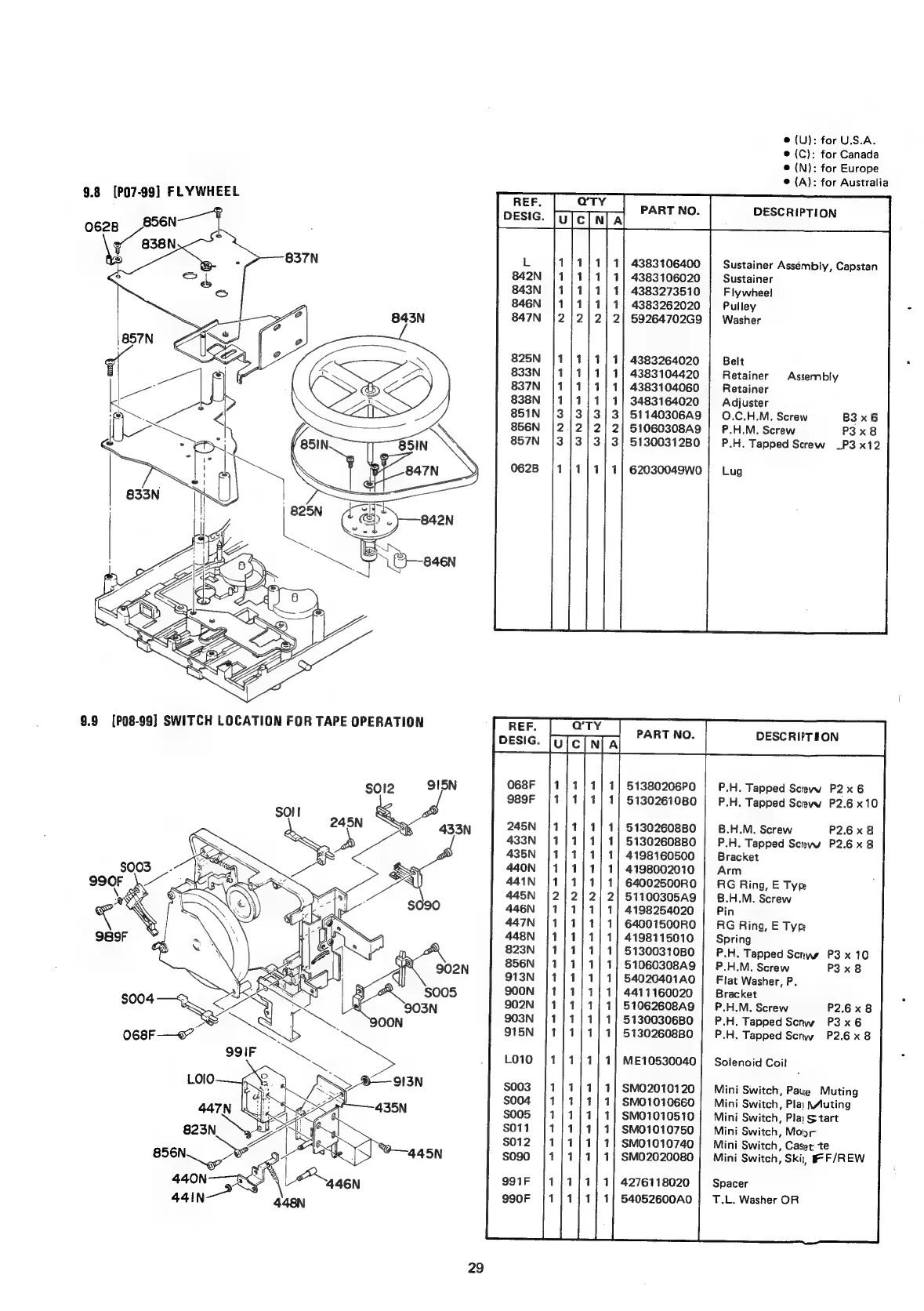
9.8
[P07-99]
FLYWHEEL
0628
_S56N
eee
Sustainer
Assémbly,
Capstan
Sustainer
4383273510
Flywheel
4383262020
Pulley
59264702G9
|
Washer
4383264020
Belt
4383104420
Retainer
Assembly
4383104060
Retainer
3483164020
Adjuster
51140306A9
|
O.C.H.M.
Screw
B3
x
6
51060308A9
|
P.H.M.
Screw
P3x8
5130031280
P.H.
Tapped
Screw
_P3
x12
62030049W0
|
Lug
PART
NO.
DESCRIITSON
[ulc{N]
Al
51380206P0
P.H.
Tapped
Screw
51302610B0
P.H.
Tapped
Scteww
P2.6
x10
=
oa
=
=
51302608B0
B.H.M.
Screw
P2.6
x
8
5130260880
|
P.H.
Tapped
Screw
P2.6x
8
4198160500
Bracket
4198002010
Arm
64002500R0
RG
Ring,
E
Typ
51100305A9
B.H.M.
Screw
4198254020
Pin
64001500RO
|
RG
Ring,
E
Typ
4198115010
Spring
51300310B0
P.H.
Tapped
Scnws
P3
x
10
51060308A9
|
P.H.M.
Screw
P3
x8
54020401A0
|
Flat
Washer,
P.
4411160020
Bracket
51062608A9
|
P.H.M.
Screw
P2.6x8
51300306B0
|
P.H.
Tapped
Scnw
P3x6
51302608B0
|
P.H.
Tapped
Scrw
P2.6x8
Pm
PR
ere
ememonnpy
amon
an
Mr
em
ePeoeweewna
pono
oe
PePePo
sewn
sw
nape
aosnis
mete
meron anyon
ana
ua
=
oy
ay
~
ME10530040
|
Solenoid
Coil
$M02010120
|
Mini
Switch,
Paue
Muting
SMO1010660
|
Mini
Switch,
Pla;
WAuting
SMO1010510
|
Mini
Switch,
Play
Start
$M01010750
|
Mini
Switch,
Mop
$M01010740
|
Mini
Switch,
Caset
te
SM02020080
;
Mini
Switch,
Ski,
BF/REW
4276118020
54052600A0
Spacer
T.L.
Washer
OR
29

Related product manuals