EasyManua.ls Logo

Marantz SR5002N1B - Exploded View and Parts List

Marantz SR5002N1B
122 pages
Print Icon
To Next Page IconTo Next Page
To Next Page IconTo Next Page
To Previous Page IconTo Previous Page
To Previous Page IconTo Previous Page
Loading...
87
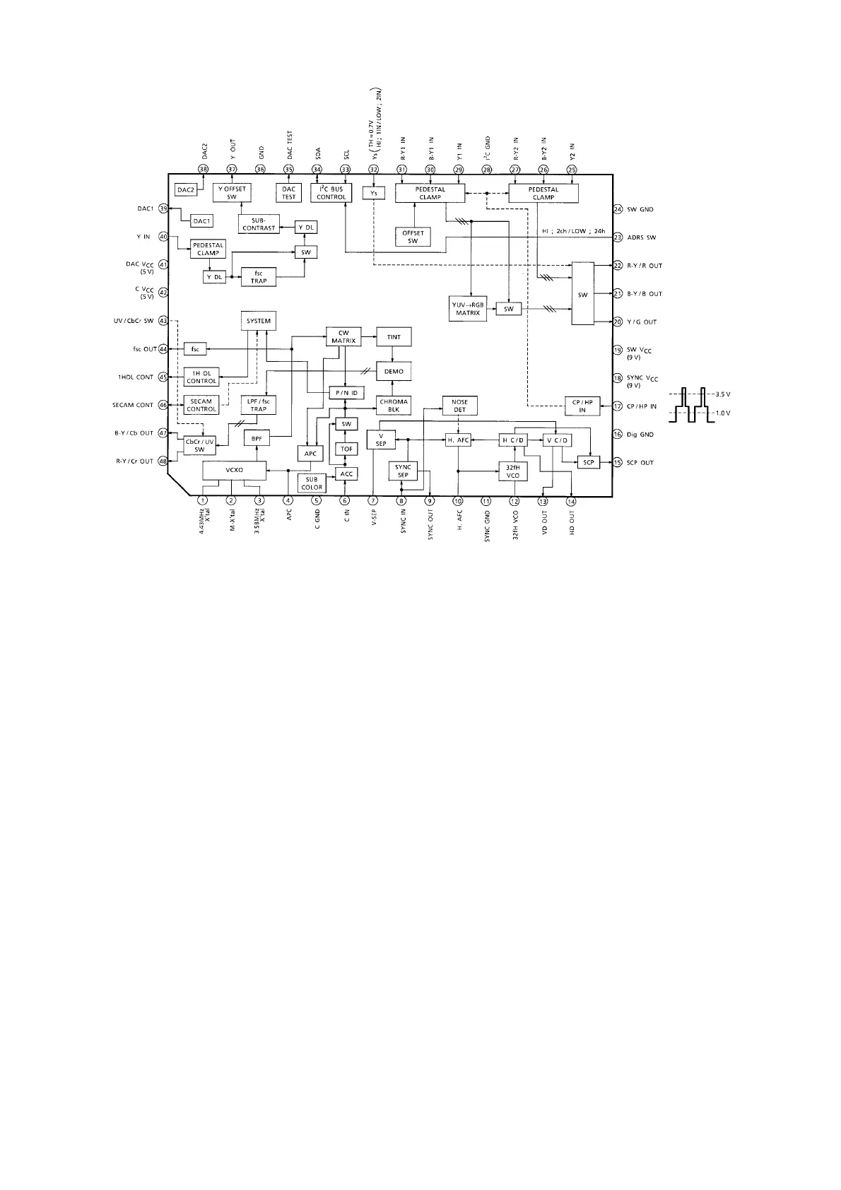
IC74 : TA1270BF

Related product manuals