EasyManua.ls Logo

Marantz ST610 - Page 22

Marantz ST610
30 pages
Print Icon
To Next Page IconTo Next Page
To Next Page IconTo Next Page
To Previous Page IconTo Previous Page
To Previous Page IconTo Previous Page
Loading...
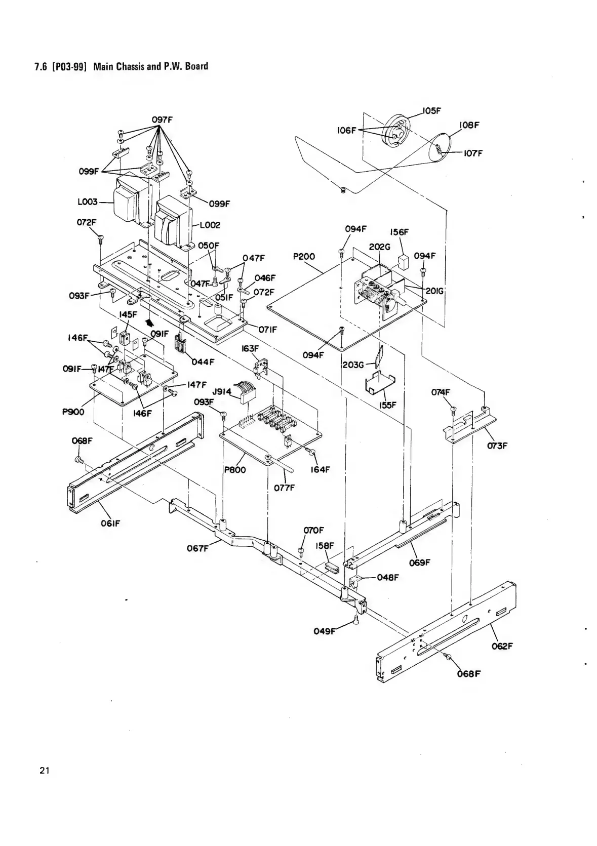
7.6
[P03-99]
Main
Chassis
and
P.W.
Board
21

Related product manuals