EasyManua.ls Logo

Marathon V-6030 - Page 20

Marathon V-6030
50 pages
Print Icon
To Next Page IconTo Next Page
To Next Page IconTo Next Page
To Previous Page IconTo Previous Page
To Previous Page IconTo Previous Page
Loading...
1 OPERATION
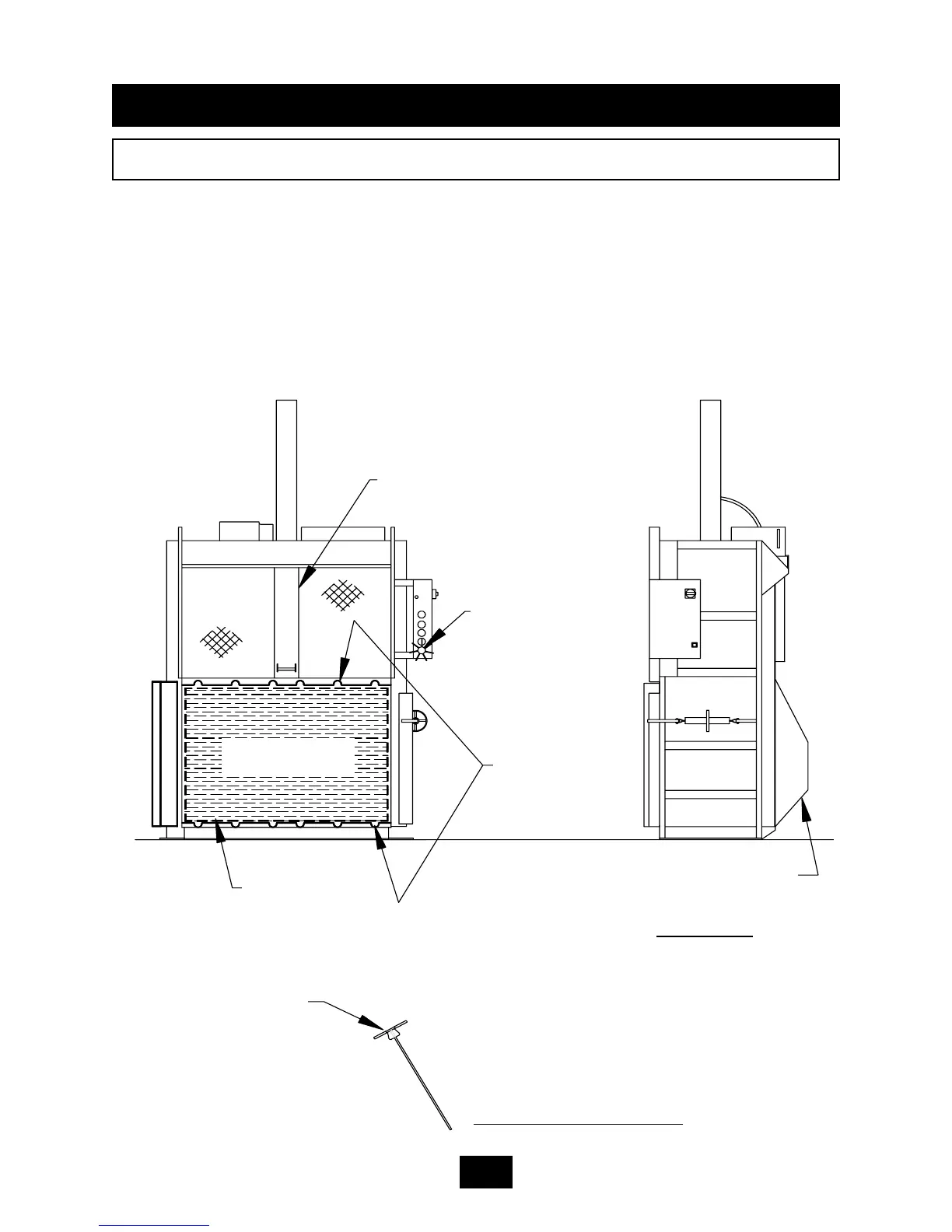
DIAGRAM - TIE SLOT CLEANING
1-17
AT TIMES THE TIE SLOTS MAY BECOME OBSTRUCTED WITH MATERIAL AND PREVENT THE
WIRE TIES FROM PROPER INSERTION THROUGH THE SLOTS AND AROUND THE BALE. THE
BALER IS SUPPLIED WITH A SLOT CLEANING TOOL FOR RODDING OUT THE TIE SLOTS.
TO USE, INSERT THE TOOL INTO THE PROBLEM SLOT AND PUNCH OR DRAG THE MATERIAL
OUT.
IF THE WIRE GUIDES BECOME OBSTRUCTED WITH MATERIAL , THE BALER SHOULD BE
EMPTIED, LOCKED OUT AND TAGGED OUT, AND THE PLATEN SHOULD BE CHOCKED AS
SHOWN IN THE MAINTENANCE SECTION OF THIS MANUAL BEFORE CLEANING THE WIRE
GUIDES.
FRONT VIEW
SIDE VIEW
BALE
WARNING LIGHT
FEED GATE
WIRE GUIDES
TIE SLOTS
SLOT CLEANING T
OOL
HANDLE

Related product manuals