EasyManua.ls Logo

Marathon V-6030HD - Page 8

Marathon V-6030HD
50 pages
Print Icon
To Next Page IconTo Next Page
To Next Page IconTo Next Page
To Previous Page IconTo Previous Page
To Previous Page IconTo Previous Page
Loading...
1 OPERATION
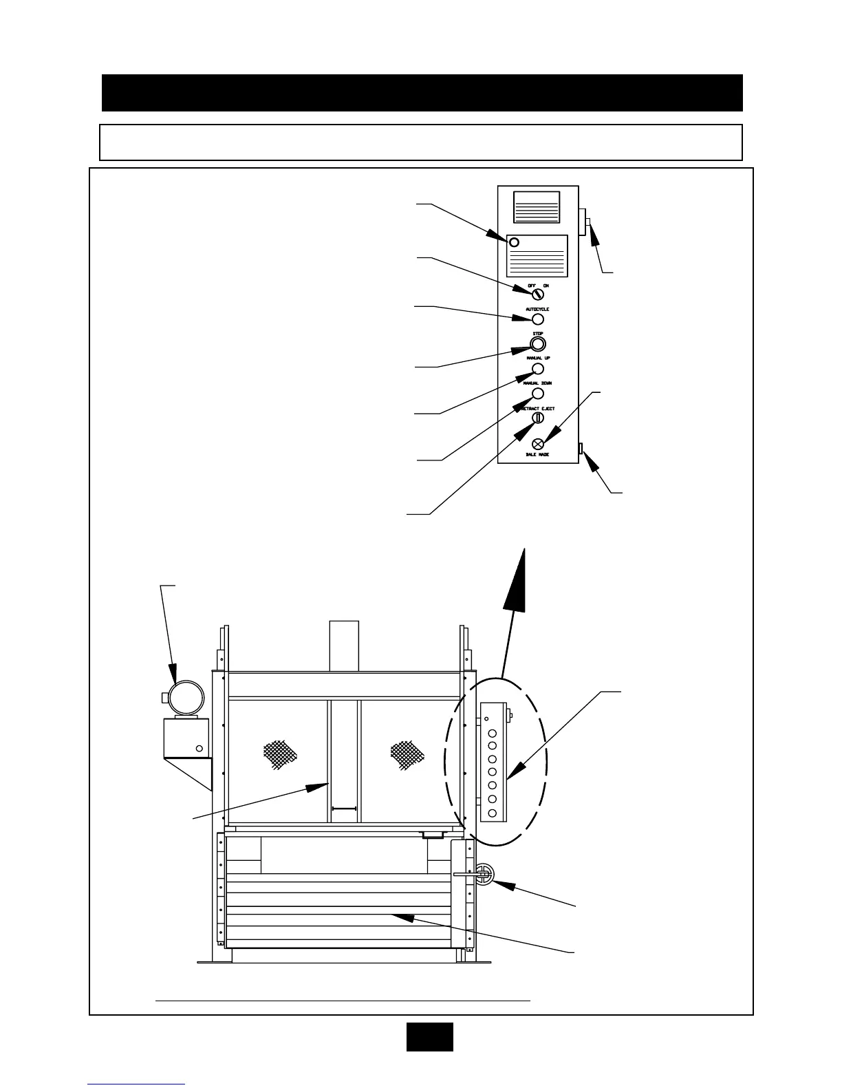
CONTROLS FOR V-6042LP
1-5
FRONT VIEW - LOW PROFILE VER
TICAL BALER
RETRACT/EJECT SWITCH
SIDE-MOUNTED
POWER UNIT
MANUAL DOWN PUSHBUTTON
BALE MADE LIGHT
RED WARNING LIGHT
AUTOCYCLE BUTTON
KEYED ON-OFF SWITCH
EMERGENCY STOP BUTTON
MANUAL UP PUSHBUTTON
RESET BUTTON
(ON DOOR)
DISCONNECT
SWITCH
FEED GATE
CONTROL PANEL
PANEL BOX
TURNBUCKLE TO BALE
CHAMBER DOOR LATCH
BALE CHAMBER DOOR

Related product manuals