EasyManua.ls Logo

MARLO MR-450-2 - Brine Maker Operation

Default Icon
52 pages
Print Icon
To Next Page IconTo Next Page
To Next Page IconTo Next Page
To Previous Page IconTo Previous Page
To Previous Page IconTo Previous Page
Loading...
MR 150M–1050M SINGLE – MXIII CONTROLLER
OPERATION
15
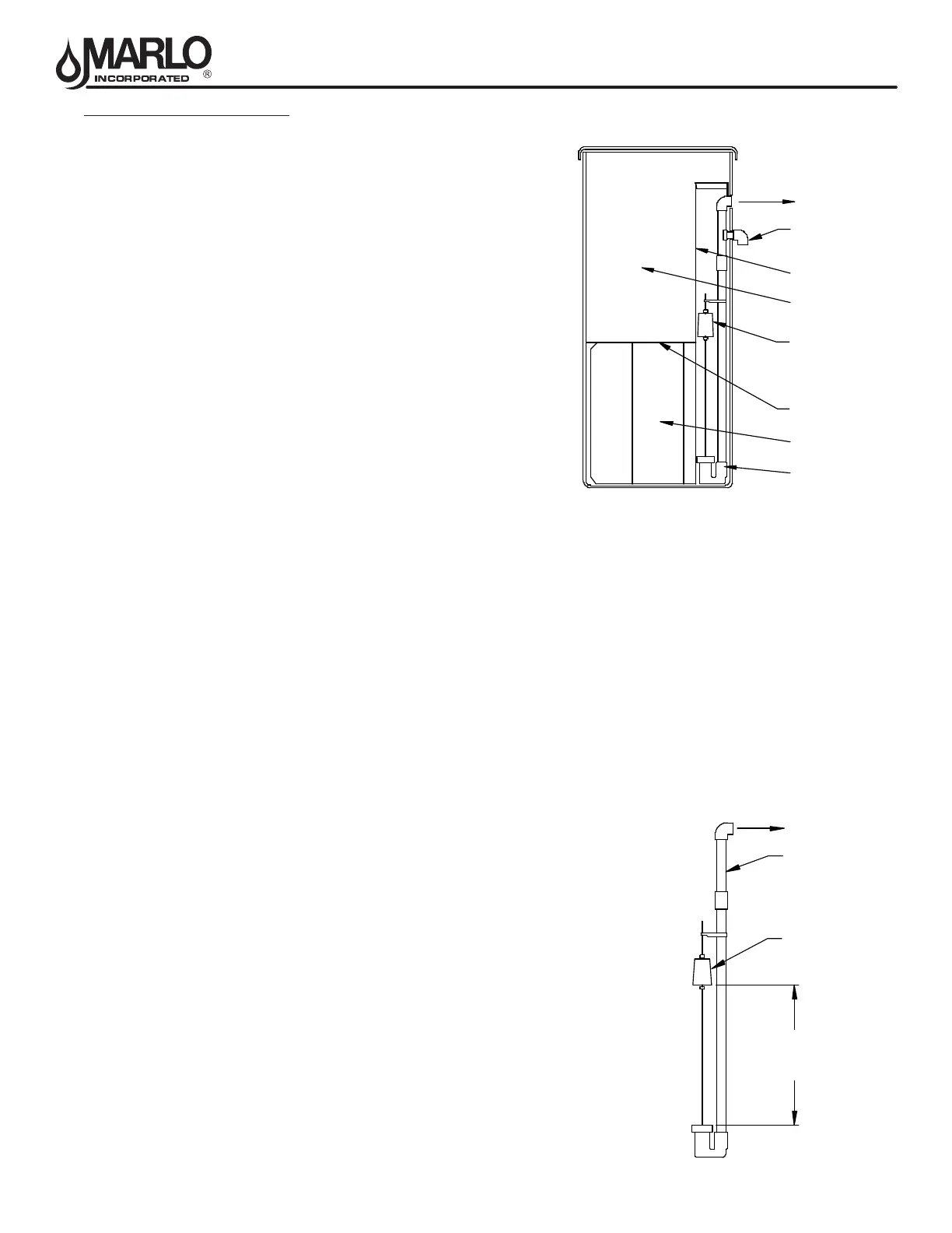
BRINE MAKER OPERATION
The brine-maker is an automatic brining system, which is easily
adjusted to provide maximum operating e󰀩ciency of your water
softener. It is a combination salt storage and brine-measuring tank
complete with an automatic valve.
The brine-maker consists of:
1. An open brine tank with a platform dividing it into sections:
• The upper section is used for dry salt storage
• The lower section for brine storage.
2. An automatic brine valve which is housed in a closed tube or “well”.
After each regeneration, water ows from the brine valve and into the
brine tank. When the water level rises slightly above the platform, a
oat closes the automatic brine valve. Salt slowly dissolves to form
concentrated brine. As brine is formed, the liquid volume increases
and the level rises in the salt. The resulting level may be 2 to 10 inches
above the platform depending on the amount of salt for regeneration.
During regeneration, the brine injector creates suction, which opens
the brine valve and draws into the softener tank. When the brine level
falls below the brine valve, the valve seats and prevents air from
entering the system.
RECOMMENDED TYPES OF SALT
Only puried salt should be used in the brining system. Palletized salt (“Button”, “Nugget”, and “Pellet”) or block salt
(free binders) is recommended. Do not use granulated salt, as it will fall through the platform screen.
Rock salt is not normally recommended. Most rock salt contains sludge-forming insoluble that collect on the platform
and prevents proper salt-water contact.
Only salt containing 0.5% or less of insolubles will provide continued satisfactory operation. If, salt with more insolu-
bles is used, the brine maker will require periodic cleaning.
MINIMUM SALTING ADJUSTMENT
Minimum salting is the most e󰀩cient use of salt. But it does minimize the capacity of
the unit, which will decrease the time between regenerations. Only make this adjust-
ment after the unit has completed a brine tank rell step and the water level was
checked to be above the salt platform. Follow these instructions to adjust your unit to
regenerate with minimum salt usage.
Adjust brine tank rell time to the minimum setting according to the
specication table. Refer to the “Setting the regeneration cycle timer page.
Monitor the water daily for hardness. It may also be necessary to adjust the
regeneration frequency, since the capacity of the unit has changed.
1. Remove brine valve assembly from brine well.
2. Remove air check from assembly.
3. Shorten the riser tube by removing the top extension pipe.
4. Reassemble brine valve assembly.
5. Reinstall the assembly into the brine well. The assembly will no longer reach the
bottom of the brine tank.
TO INJECTOR
OVERFLOW
(PIPE TO DRAIN)
FLOAT
BRINE VALVE
LIQUID BRINE
DRY SALT
STORAGE
SALT SHELF
BRINE WELL
TO INJECTOR
TOP
EXTENSION
BRINE VALVE
FLOAT HEIGHT
FLOAT

Related product manuals