EasyManua.ls Logo

Maytag MTF1842EEB00 - Icemaker Parts

Maytag MTF1842EEB00
13 pages
Print Icon
To Next Page IconTo Next Page
To Next Page IconTo Next Page
To Previous Page IconTo Previous Page
To Previous Page IconTo Previous Page
Loading...
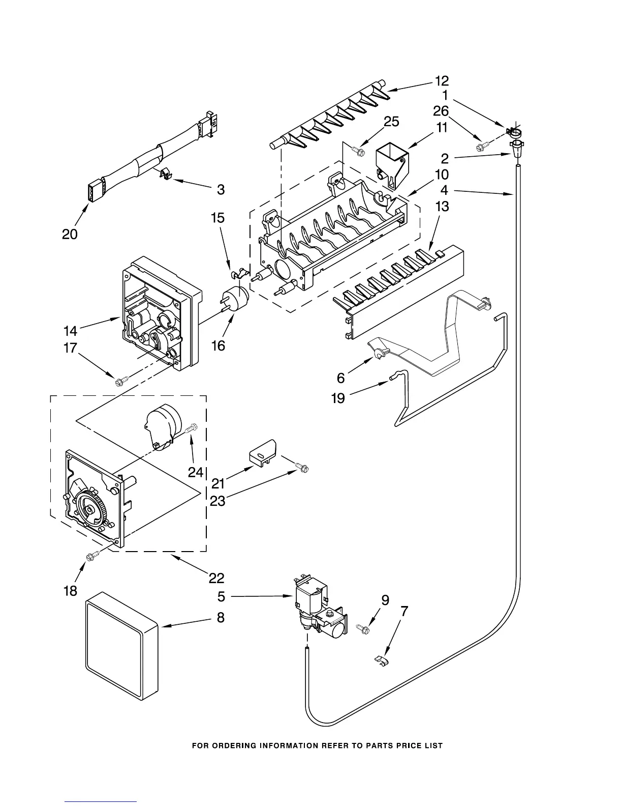
ICEMAKER PARTS
11
For Models: MTF1842EEW00, MTF1842EEQ00, MTF1842EEB00, MTF1842EES00
(White) (Bisque) (Black) (Stainless Steel)
W10180316

Related product manuals