EasyManua.ls Logo

Mazda 3 2019 - Light Bulbs

Mazda 3 2019
592 pages
Print Icon
To Next Page IconTo Next Page
To Next Page IconTo Next Page
To Previous Page IconTo Previous Page
To Previous Page IconTo Previous Page
Loading...
Light Bulbs
Light Bulbs
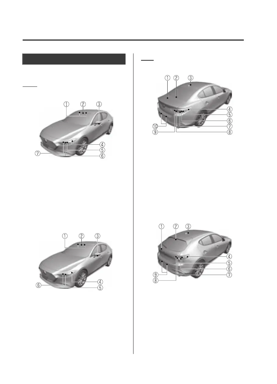
Front
Type A
1. Vanity mirror lights
*
2. Overhead lights/ Front map lights
3. Side turn signal lights
*
4. Front side-marker lights
5. Parking lights
6. Headlights (High/Low beam)/ Daytime
running lights
7. Front turn signal lights
Type B
1. Vanity mirror lights
*
2. Overhead lights/ Front map lights
3. Side turn signal lights
*
4. Parking lights/Front side-marker lights
5. Headlights (High/Low beam)/ Daytime
running lights
6. Front turn signal lights
Rear
4–Door
1. Trunk light
2. High-mount brake light
3. Overhead light (Rear)
4. Rear side-marker lights
5. Brake lights/Taillights
*
6. Rear turn signal lights
7. Brake lights/Taillights
8. Taillights
*
9. Reverse lights
10. License plate lights
5–Door
1. Luggage compartment light
2. High-mount brake light
3. Overhead light (Rear)
4. Rear side-marker lights
5. Rear turn signal lights
6. Brake lights/Taillights
7. Taillights
*
8. Reverse lights
9. License plate lights
Maintenance and Care
Owner Maintenance
6-34
*Some models.
Mazda3_8HE9-EA-18K_Edition1 2018-10-17 19:05:10

Table of Contents

Related product manuals