EasyManua.ls Logo

Mazda 6 2011 - Page 187

Mazda 6 2011
522 pages
Print Icon
To Next Page IconTo Next Page
To Next Page IconTo Next Page
To Previous Page IconTo Previous Page
To Previous Page IconTo Previous Page
Loading...
qSpeedometer
The speedometer indicates the speed of
the vehicle.
q
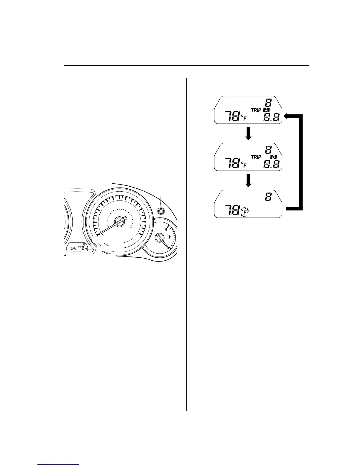
Odometer, Trip Meter, Outside
Temperature Display and Selector
The display mode changes from trip meter
A to trip meter B, and to the temperature
unit change function display each time the
selector is pressed while one of the modes
is displayed. The selected mode will be
displayed.
Trip meter
Odometer
Selector
Outside Temperature
Display
Odometer
Trip meter A
Outside
temperature
Outside
temperature
Outside
temperature
Trip meter B
Odometer
Odometer
Driving Your Mazda
Instrument Cluster and Indicators
5-39
Mazda6_8BG7-EC-10H_Edition1 Page187
Monday, August 2 2010 1:27 PM
Form No.8BG7-EC-10H

Table of Contents

Other manuals for Mazda 6 2011

Related product manuals