EasyManua.ls Logo

McCulloch CS 330 - Page 58

McCulloch CS 330
88 pages
Print Icon
To Next Page IconTo Next Page
To Next Page IconTo Next Page
To Previous Page IconTo Previous Page
To Previous Page IconTo Previous Page
Loading...
58
ARBEITSTECHNIK
1
.
Schnitt
2
.
Schnitt
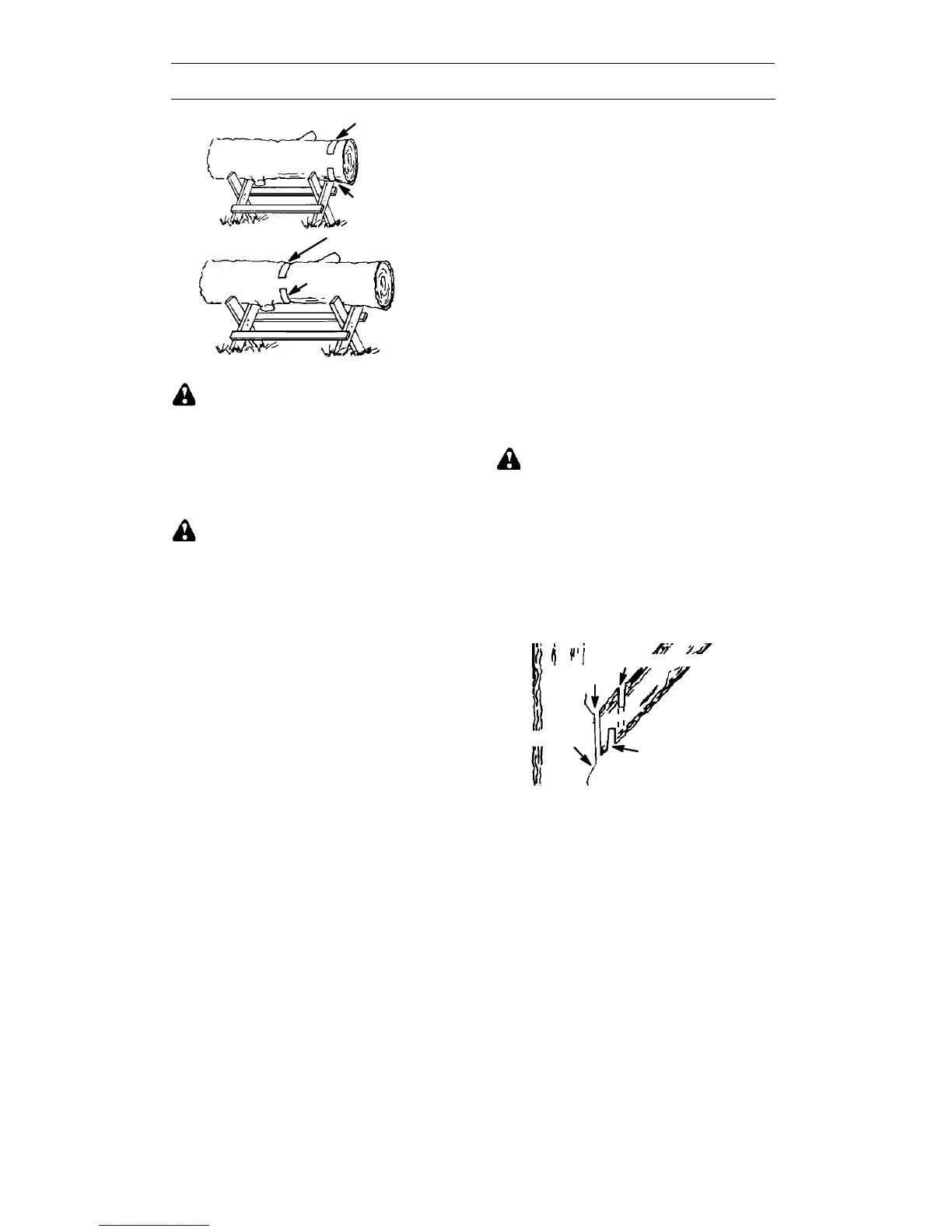
Mit Stützbock
1
.
Schnitt
2
.
Schnitt
ENTASTEN UND STUTZEN
WARNUNG: Achten Sie immer auf
Rückschlag und schützen Sie sich davor.
Die laufende Kette an der Spitze der
Führungsschiene beim Entasten oder der
Astbeschneidung niemals mit anderen
Ästen oder Objekten in Berührung kommen
lassen. Ein solcher Kontakt kann ernsthafte
Verletzungen verursachen.
WARNUNG: Steigen Sie zum
Entasten oder Stutzen niemals auf den
Baum. Stellen Sie sich nicht auf Leitern,
Podeste, Stämme usw. Sie könnten Ihr
Gleichgewicht und die Kontrolle über das
Gerät verlieren.
WICHTIGE HINWEISE
S Achten Sie auf zurückschnellende
Baumteile. Seien Sie beim Schneiden
kleiner Baumteile extrem vorsichtig.
Biegsames Material kann sich in der
Sägekette verfangen und Ihnen
entgegenschnellen oder Sie aus dem
Gleichgewicht bringen.
S Achten Sie auf zurückschnellende
Baumteile. Dies gilt besonders für gebogene
oder belastete Äste. Vermeiden Sie, mit dem
Ast oder der Säge in Berührung zu kommen,
wenn die Spannung des Holzes nachgibt.
S Räumen Sie den Weg von Ästen frei, um
nicht darüber zu stolpern.
ENTASTEN
S Entasten Sie einen Baum erst, wenn er
gefällt ist. Erst dann können Sie das
Entasten sicher und ordnungsgemäß
durchführen.
S Lassen Sie die größeren Äste unter dem
gefällten Baum liegen und verwenden Sie
sie als Stütze, während Sie weiterarbeiten.
S Beginnen Sie am Fuß des gefällten Baums
und arbeiten Sie sich zur Spitze hoch.
Entfernen Sie kleinere Baumteile mit einem
Schnitt.
S Achten Sie dabei darauf, den Baum immer
zwischen sich und der Säge zu lassen.
S Entfernen Sie größere, stützende Äste mit
den im Abschnitt “Stammzerteilung ohne
Stützen”--Methoden.
S Entfernen Sie kleine freihängende
Baumteile immer mit einem Oberschnitt.
Durch einen Unterschnitt könnten Sie in
die Säge fallen bzw. diese einklemmen.
STUTZEN
WARNUNG: Stutzen Sie nur Äste in
bzw. unter Schulterhöhe. Schneiden Sie nie
Äste über Schulterhöhe. Überlassen Sie
solche Arbeiten einem Fachmann.
S Schneiden Sie beim ersten Schnitt
1/3
in den unteren Astteil.
S Schneiden Sie dann mit dem zweiten
Schnitt ganz durch den Ast. Derdritte
Schnitt ist ein Oberschnitt, mit dem Sie
den Ast bis auf 2,5 bis 5 cm vom Stamm
trennen.
Erster Schnitt
Zweiter Schnitt
Dritter
Schnitt
Überstand
Stutzmethode
31
MANIPULATION DE CARBURANT
HUILE DEUX TEMPS
S Pour obtenir un fonctionnement et des ré-
sultats optimaux, utiliser une huile moteur
deux temps Universal, Universal powered
by McCulloch fabriquée spécialement
pour nos moteurs deux temps à refroid-
issement à air.
Ne jamais utiliser dhuile deux temps pour
moteurs hors--bord refroidis par eau, ap-
pelée huile outboard (désignation TCW).
Ne jamais utiliser d’huile pour moteurs à
quatre temps.
Une hui le de qua lité médiocre ou un
mélange huile/carburant trop riche risquent
de mettre en péril le fonctionnement du pot
catalytique et d’en réduire la durée de vie.
RAPPORT DE MÉLANGE
1:50 (2%) avec huile deux temps Universal,
Universal powered by McCulloch.
1:33 (3%) avec d’autres huiles coues pour
des moteurs deux temps à refroidissement par
air classés pour JASO FB/ISO EGB.
Essence, litres Huile deux temps, litres
2% (1:50) 3% (1:33)
5 0,10 0,15
10 0,20 0,30
15 0,30 0,45
20 0,40 0,60
MÉLANGE
Mélangez toujours l’essence et l’huile
dans un récipient propre approuvé pour
l’essence.
Toujours commencer par verser la moit
de l’essence à langer. Verser ensuite la
totalité de l’huile. Mélanger en secouant le
récipient. Enfin, verser le reste de
l’essence.
Mélanger (secouer) soigneusement le
mélange avant de faire le plein du
réservoir de la machine.
Ne jamais préparer plus d’un mois de con-
sommation de carburant à l’avance.
Si la machine n’est pas utilisée pendant
unelongue période, vidanger et nettoyer le
servoir.
HUILE POUR CHAÎNE
Il est recommandé d’utiliser une huile
spéciale (huile pour chaîne) possédant de
bonnes qualités d’adhérence pour la lubri-
fication.
Ne jamais utiliser d’huile usagée. Ceci en-
dommagerait la pompe à huile, le guide-
chaîne et la chaîne.
Il est important d’utiliser une huile adaptée
à la température de l’air (viscosité
appropriée).
Les températures inférieures à 0°C
rendent certaines huiles visqueuses. Ceci
peut causer une surcharge de la pompe à
huile, endommageant les pièces de la
pompe.
Contacter l’atelier spécialisé pour obtenir
des conseils sur le choix d’une huile de
chaîne adéquate.
REMPLISSAGE DE
CARBURANT
AVERTISSEMENT: Les mesures
de sécurité ci--dessous réduisent le risque
d’incendie: ne fumez jamais ni ne placez
d’objet chaud à proximité du carburant; ar-
rêter le moteur et le laisser refroidir pendant
quelques minutes avant de faire le plein;
ouvrir le bouchon du réservoir lentement
pour laisser baisser la surpression pouvant
régner dans le réservoir; serrer soigneuse-
ment le bouchon du réservoir après le rem-
plissage; éloignez toujours la machine de la
zone et de la source du plein en carburant
avant de la mettre en marche.
Essuyer le pourtour des bouchons des
réservoirs. Nettoyer régulièrement les réser-
voirs de carburant e tdhuile pour chaîne. Re-
mplacer le filtre à carburant au moins une
fois par an. Des impuretés dans les réser-
voirs sont causes de mauvais fonction-
nement. Veiller à obtenir un mélange homo-
gène en secouant le récipient avant de
remplir le réservoir . Les contenances des
réservoirs de carburant et d’huile pour
chaîne sont adaptées l’une à l’autre.
Toujours faire le plein des réservoirs de car-
burant et d’huile à la même occasion.
AVERTISSEMENT: Le carburant
et les vapeurs de carburant sont extrême-
ment inflammables. Observer la plus grande
prudence en manipulant le carburant et
l’huile de chaîne. Penser au risque d’explo-
sion, d’incendie ou d’empoisonnement.

Table of Contents

Related product manuals