EasyManua.ls Logo

McCulloch M4218 - Page 30

McCulloch M4218
104 pages
Print Icon
To Next Page IconTo Next Page
To Next Page IconTo Next Page
To Previous Page IconTo Previous Page
To Previous Page IconTo Previous Page
Loading...
30
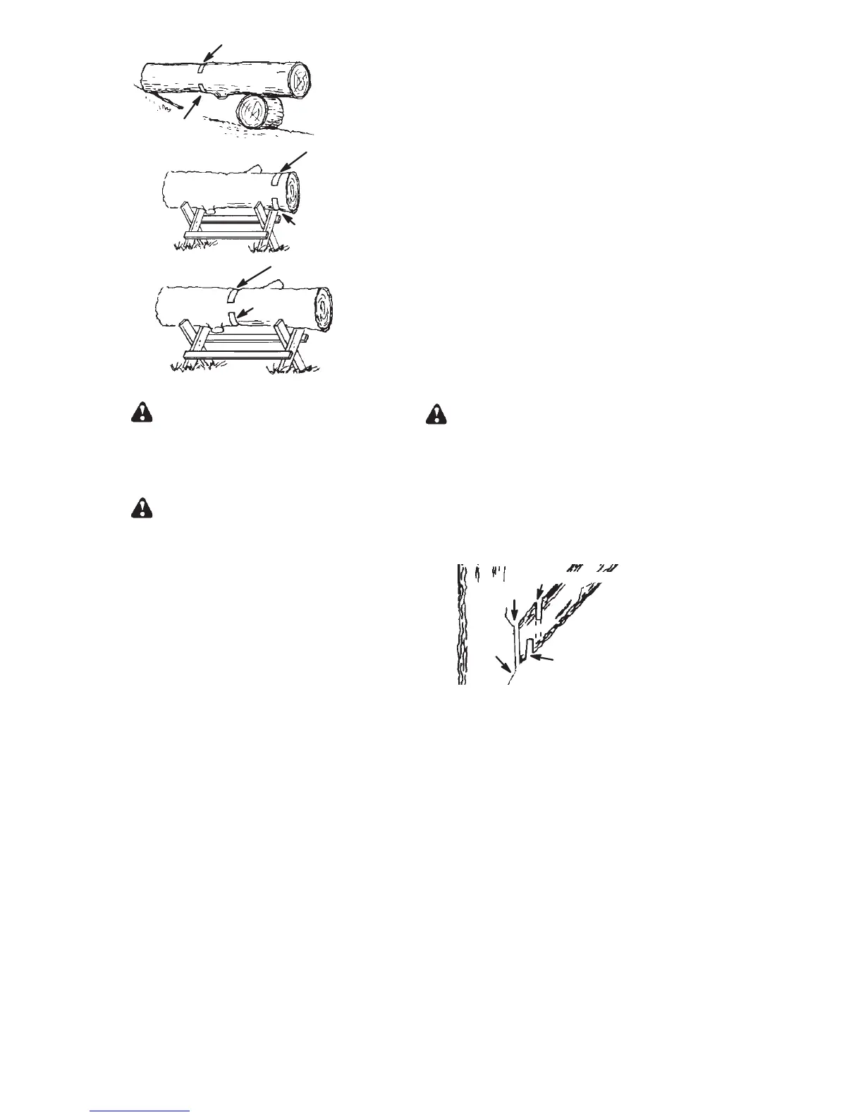
2
º
corte
1
er
corte
1
er
corte
2
º
corte
Utilizando un soporte
1
er
corte
2
º
corte
PODA Y RECORTE
ADVERTENCIA: Esté alerta y ten-
ga cuidado con los reculada. Cuando cortar
ramas y podar, nunca permita que la cadena
en movimiento toque ningún objeto en la
punta de la espada. Permitir tal contacto
puede causar graves heridas.
ADVERTENCIA: No se suba a los
árboles para podarlos o recortarlos. No
permanezca de pié sobre escaleras,
plataformas, en un tronco o en cualquier
posición en la que pueda perder el equilibrio
o el control de la sierra.
PUNTOS IMPORTANTES
S Tenga cuidado con las ramas, pueden dar
latigazos. Tenga especial precaución al
podar ramas pequeñas. Éstas pueden
engancharse en la motosierra y salir
disparadas en la dirección del operador o
hacerle perder el equilibrio.
S Preste atencn y evite golpes por rebote.
Tenga cuidado con las ramas dobladas o
que soportan tensión. Evite golpes del
ramaje o de la sierra producidas por la
tensión de las fibras de la madera.
S De vez en cuando, despeje las ramas del
camino para no tropezar con ellas.
PODA
S Pode siempre los árboles después de
talarlos. Después podproceder apodarlos
correctamente y con seguridad.
S Deje las ramas más grandes bajo el árbol
talado para que lo sujeten mientras trabaja.
S Comience por la base del tronco y trabaje
hacia la copa, podando todas las ramas.
Quite las ramas pequeñas de un solo corte.
S Siempre que sea posible, mantenga el árbol
entre usted y la motosierra.
S Pode los troncos y ramas más gruesos
con los sistemas de corte descritos en la
seccn de TRONZADO SIN SOPORTE.
S Utilice siempre la cnica del corte por arriba
para las ramas pequeñas y las que esn
sueltas. Si utiliza el corte por debajo, al caer,
las ramas pueden engancharse en la sierra.
RECORTE
ADVERTENCIA: Limite el
recortado de las ramas a aquellas que se
encuentren a la altura del hombro o más
abajo. No corte las ramas superiores. Este
trabajo deberá hacerlo un profesional.
S El primer corte deberá llegar hasta 1/3
de la parte inferior de la rama.
S Luego, con el segundo corte, termine
de cortar la rama. Con el tercer corte
por arriba, deje un borde de 3 a 5 cm
desde el tronco del árbol.
Primer corte
Segundo corte
Tercer
corte
Borde
Técnica de recorte

Table of Contents

Related product manuals