EasyManua.ls Logo

Megamaster Blaze400 - Assembly Instruction

Megamaster Blaze400
33 pages
Print Icon
To Next Page IconTo Next Page
To Next Page IconTo Next Page
To Previous Page IconTo Previous Page
To Previous Page IconTo Previous Page
Loading...
Assembly Instructions
1. Cart Assembly
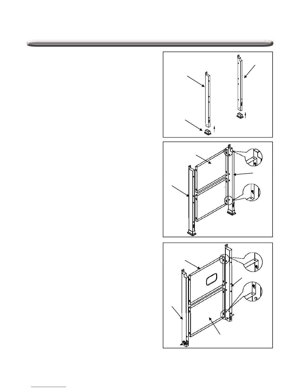
a) Place the Cart Caster Inset (Y) into the Cart Leg Front
Left (F) and Cart Leg Rear Left (G). As shown in Fig. 1.
Fig. 1
F
G
Y
b) Loosen but do not remove the eight screws that were
pre-assembled on the Cart Leg Front Left (F) and Cart
Leg Rear Left (G). Attach Cart Leg Front Left (F) and
Cart Leg Rear Left (G) to Side Panel (C) by aligning the
holes on the Side Panel (C). Tighten the screws that
were loosened above As shown in Fig 2
Fig. 2
C
were
loosened
above
.
As
shown
in
Fig
.
2
.
Note: Make sure the flat side of Side Panel (C) faces out
to the left when attaching.
F
G
c) Loosen but do not remove the eight screws that were
pre-assembled on the Cart Leg Front Right (H) and
Cart Leg Rear Right (I). Attach Cart Leg Front Right (H)
and Cart Leg Rear Right (I) to Side Panel (C) and Side
Panel Right Top (D) by aligning the holes on the Side
Panel (C) and Side Panel Right Top (D). Tighten the
screws that were loosened above As shown in Fig 3
Fig. 3
D
screws
that
were
loosened
above
.
As
shown
in
Fig
.
3
.
Note: Make sure the flat side of Side Panel (C) and
Side Panel Right Top (D) face out to the right when
attaching.
I
H
13
C

Related product manuals