EasyManua.ls Logo

Mendota ML39 - Page 24

Mendota ML39
90 pages
Print Icon
To Next Page IconTo Next Page
To Next Page IconTo Next Page
To Previous Page IconTo Previous Page
To Previous Page IconTo Previous Page
Loading...
85-03-01136 ML39 Page 24
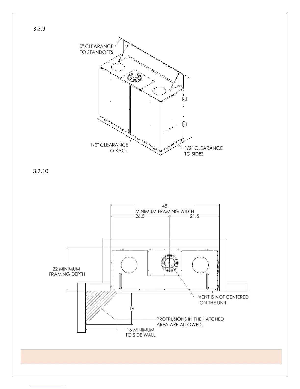
Clearance from Appliance Side Walls
Clearances to Combustible Side Walls
The minimum distance required from the inner guide side edge to a combustible side wall is 16”. Combustible side walls,
mantel corbels, mantel legs and other combustible walls and decorative objects must fall behind a 45-degree line extending
outward from the inner guide side edge unless such objects are more than 16” away from the inner guide side edge.
WARNING: VENT IS NOT CENTERED ON THE UNIT!
If the required clearance cannot be met to a pre-existing combustible side wall, an NFPA approved clearance
reduction shield, metal or ceramic board, must be added to the side wall.
Figure 3-18 CLEARANCE TO BODY

Other manuals for Mendota ML39

Related product manuals