EasyManua.ls Logo

Merax WF313600 - HT-013#-AI_recover Model (1)

Merax WF313600
20 pages
Print Icon
To Next Page IconTo Next Page
To Next Page IconTo Next Page
To Previous Page IconTo Previous Page
To Previous Page IconTo Previous Page
Loading...
9
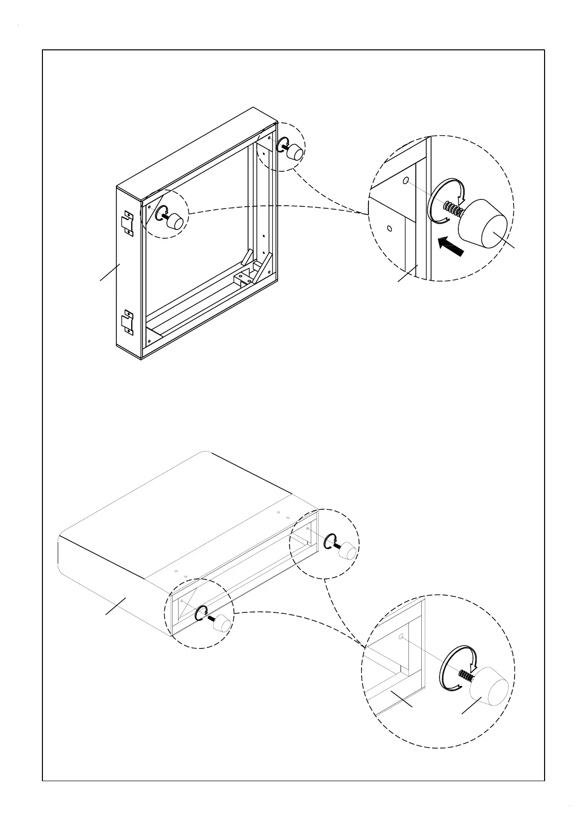
STEP 5
STEP 6
D
P
D
C
P
C

Related product manuals