EasyManua.ls Logo

Metabo STE 100 Plus - Page 23

Metabo STE 100 Plus
Print Icon
To Next Page IconTo Next Page
To Next Page IconTo Next Page
To Previous Page IconTo Previous Page
To Previous Page IconTo Previous Page
Loading...
Régler la cote (a).
Visser à fond les vis (18) en face avant.
Après utilisation du guide pour coupes circulaires
et parallèles, dévisser les vis (18), car elles
pourraient se desserrer par suite des vibrations de
la scie sauteuse.
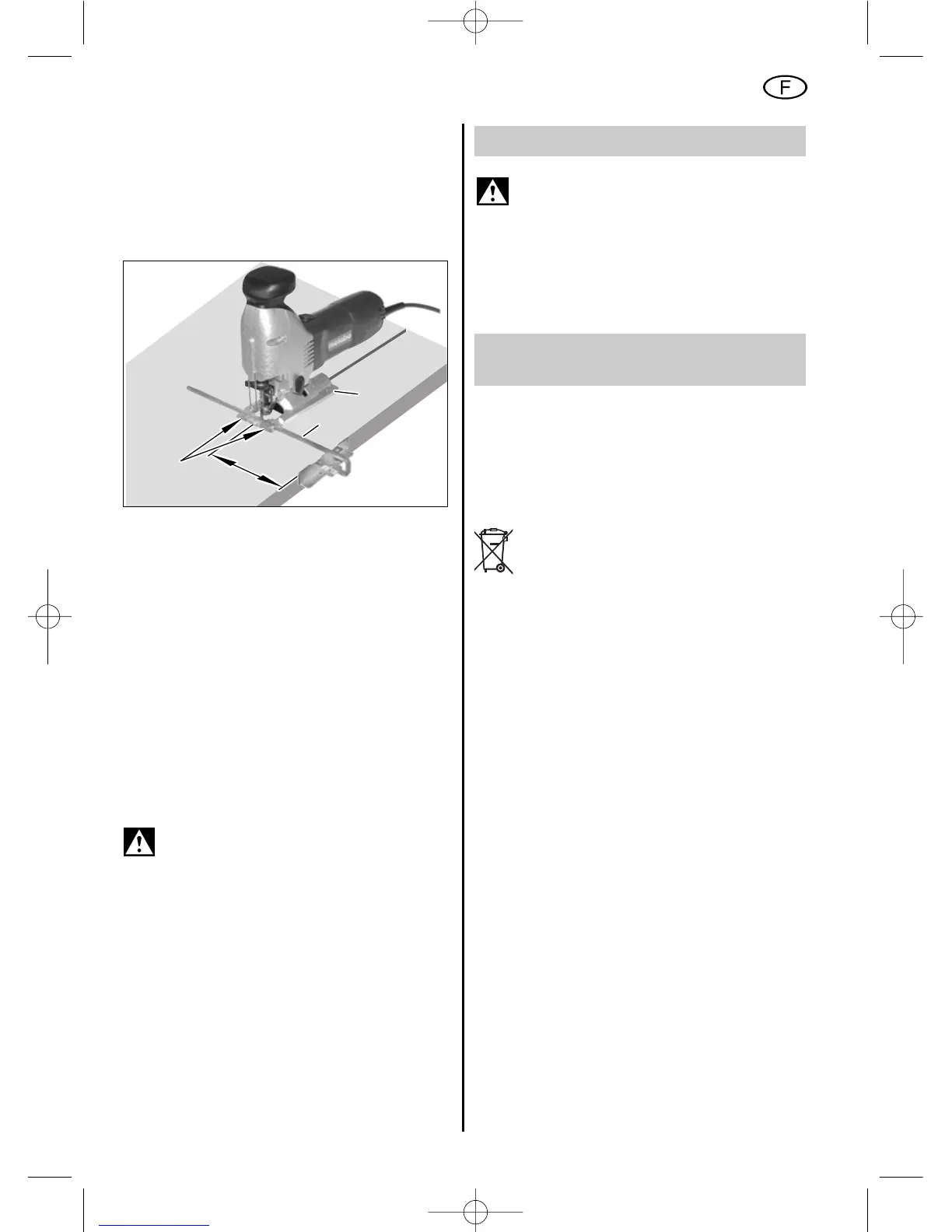
Mise en place du guide pour coupes parallèles
Mettre en place le guide pour coupes parallèles
(17) dans la rainure de la semelle (11). Régler la
cote (b). Visser à fond les vis (18) en face avant.
Après utilisation du guide pour coupes circulaires
et parallèles, dévisser les vis (18), car elles
pourraient se desserrer par suite des vibrations de
la scie sauteuse.
11.2 Coupes biaises avec guide pour coupes
circulaires et parallèles
Déposer le capuchon pare-poussière (8), la pla-
quette anti-éclats (9) et la tubulure d’extraction (12).
Desserrer la vis à six pans creux (15) dans la
semelle (11). Faire coulisser la semelle (11) vers
l’avant, la tourner, puis l’enclencher vers l’arrière
dans l’un des crans correspondants aux angles
d’inclinaison de 15° ou 30°.
Pour régler un angle de sciage de 45°,
basculer la scie sauteuse vers la
gauche. La scie sauteuse ne doit pas
être basculée vers la droite sous peine
d’endommager le dispositif de serrage
de la lame de scie.
Resserrer à fond la vis à six pans creux (15).
12 Réparation
La réparation des outillages électriques
doit uniquement être réalisée par des
électriciens qualifiés !
Les outils Metabo qui sont à réparer peuvent être
expédiés à l'une des adresses indiquées sur la
liste des pièces de rechange.
Lors de l’envoi à la réparation, veuillez indiquer le
défaut constaté.
13 Protection
de l’environnement
Les emballages Metabo sont recyclables à 100 %.
Les outillages électriques et les accessoires
usagés contiennent d’importantes quantités de
matières premières et de plastiques qui peuvent
également être recyclées.
Le présent mode d’emploi est imprimé sur du
papier blanchi sans chlore.
Pour les pays européens uniquement :
Ne pas jeter les appareils électriques dans
les ordures ménagères ! Conformément à
la directive européenne 2002/96/CE
relative aux déchets d'équipements électriques ou
électroniques (DEEE), et à sa transposition dans
la législation nationale, les appareils électriques
doivent être collectés à part et être soumis à un
recyclage respectueux de l’environnement.
b
18
17
11
23
FRANÇAIS
03_STE100_7230_0208_F 19.02.2008 15:35 Uhr Seite 23

Related product manuals