EasyManua.ls Logo

Micro Matic MMPP4302 - Page 19

Micro Matic MMPP4302
24 pages
Print Icon
To Next Page IconTo Next Page
To Next Page IconTo Next Page
To Previous Page IconTo Previous Page
To Previous Page IconTo Previous Page
Loading...
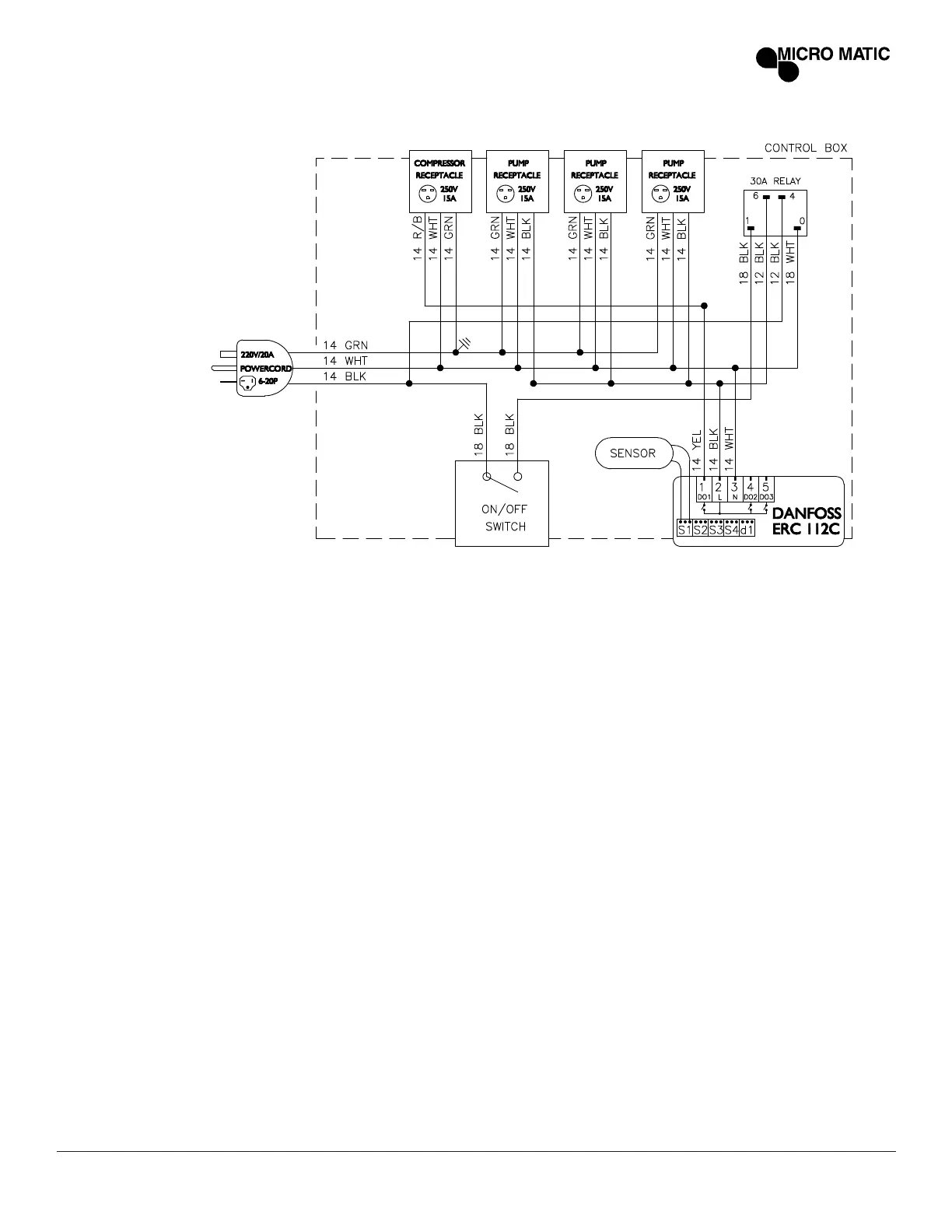
MICROMATIC.COM | 866-327-4159 POWER PACK SERVICE MANUAL | 19
MMPP4305-PKG-3

Related product manuals