EasyManua.ls Logo

Midea MDWB1W - Page 20

Midea MDWB1W
44 pages
Print Icon
To Next Page IconTo Next Page
To Next Page IconTo Next Page
To Previous Page IconTo Previous Page
To Previous Page IconTo Previous Page
Loading...
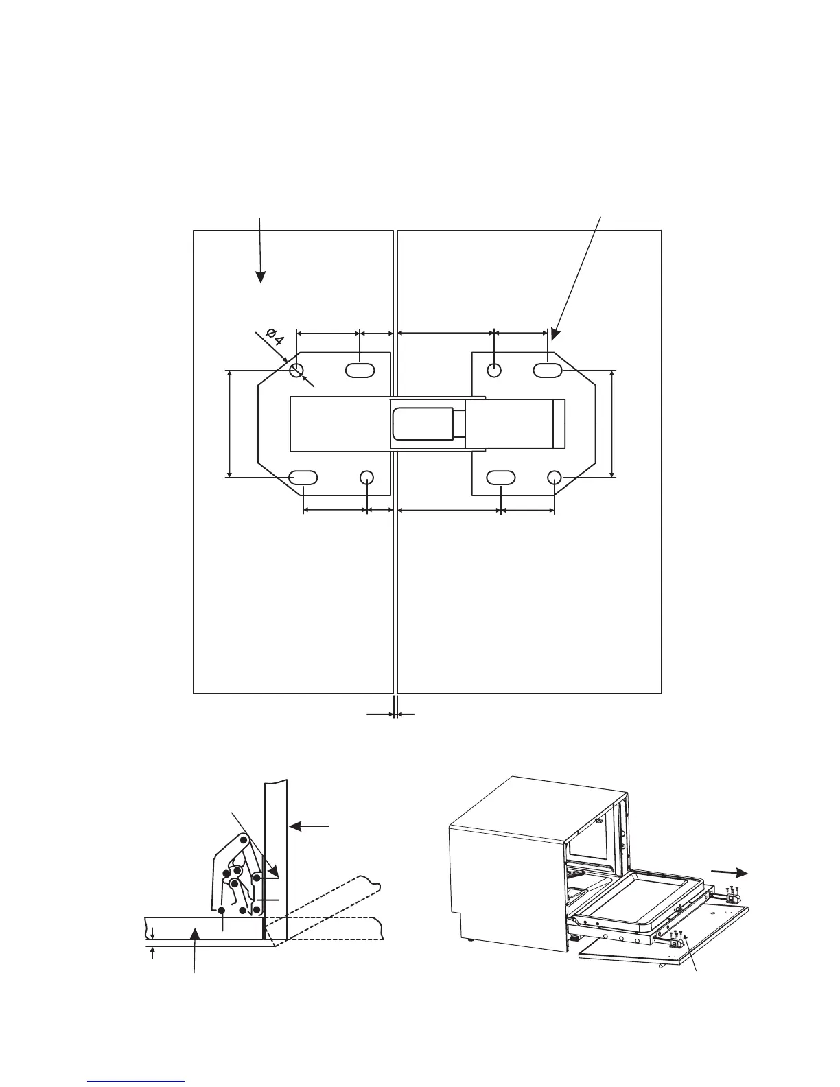
Step 4:
Assemble the decorative door on the dishwasher, as figure. First install screw between
the cabinet base board and decorative panel, in all 16; then pull glide from out door
groove, case 8-screw between decorative panels and glide .
Screw, in all 8
Cabinet base board
Decorative panel
Screw,in all 16
Decorative panel
Cabinet base board
Install the hingle by screw,in all 16
6
19 10 29 16
32
32
19 168 31
3
19

Related product manuals