Home
Midea
Chiller
MGCSL-D30W/RN1
Page 120
Midea MGCSL-D30W/RN1 - Page 120
174 pages
Manual
To Next Page
To Next Page
To Previous Page
To Previous Page
Loading...
A
i
r
-
c
o
o
l
e
d
m
o
d
u
l
a
r
c
h
i
l
l
e
r
u
n
i
t
5
0
H
z
M
C
A
C
-
A
T
S
M
-
2
0
1
1
-
1
2
122
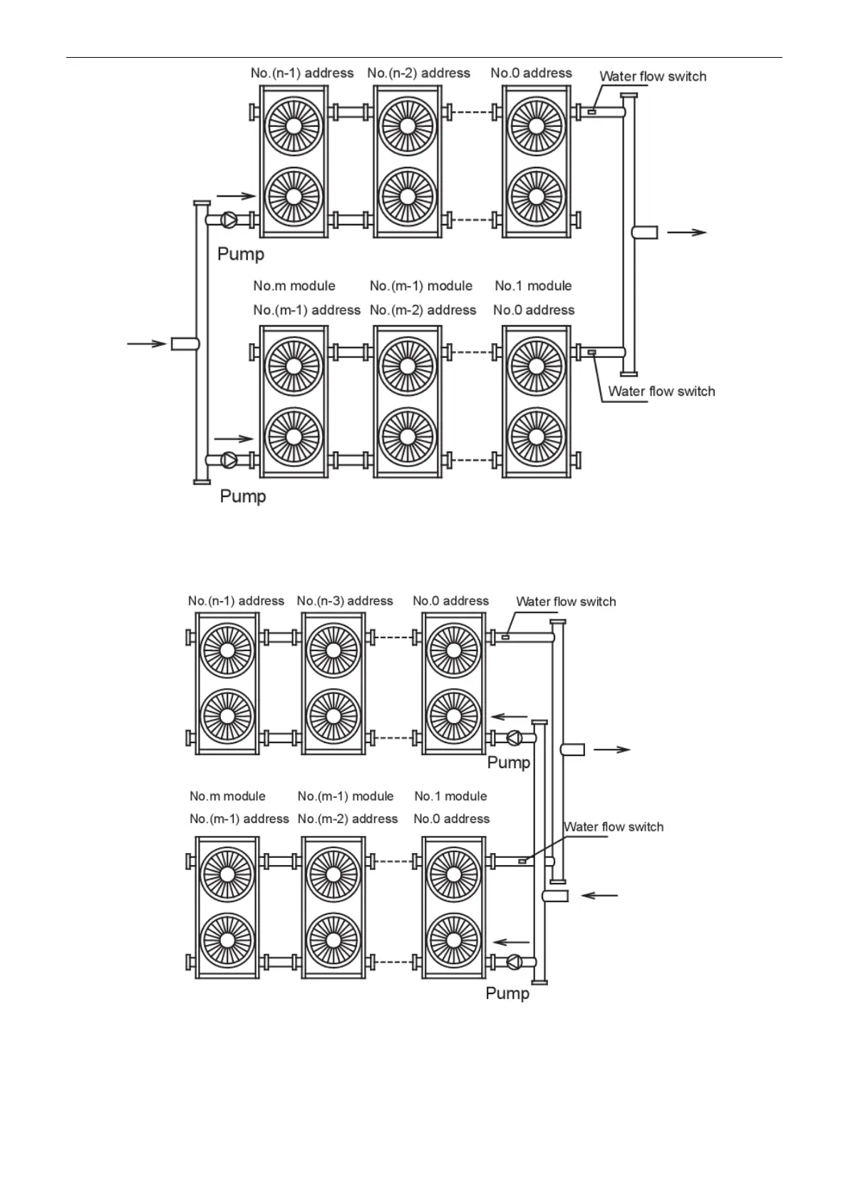
Inst
allation mode
A: less than 16 modules
n : the module quantity
, max6
m : the module quantity
, max6
Inst
allation mode B: less than 12 modules
119
121
Related product manuals
Midea MGCSL-F30W/RN1
174 pages
Midea MGB Series
174 pages
Midea MGB-D30W/RN1
174 pages
Midea MGA-D65W/SN1
72 pages
Midea MGB-F65W/RN1
174 pages
Midea MGA-D30W/SN1
72 pages
Midea MGA-F30W/SN1
72 pages
Midea MGA-F65W/SN1
72 pages
Midea MGB-F130W/RN1
174 pages
Midea MGBT-F250W/RN1
213 pages
Midea MGBT-F180W/RN1
213 pages
Midea MGBT-F120W/RN1
213 pages