EasyManua.ls Logo

Midea MOU-18HN1-Q

Midea MOU-18HN1-Q
132 pages
To Next Page IconTo Next Page
To Next Page IconTo Next Page
To Previous Page IconTo Previous Page
To Previous Page IconTo Previous Page
Loading...
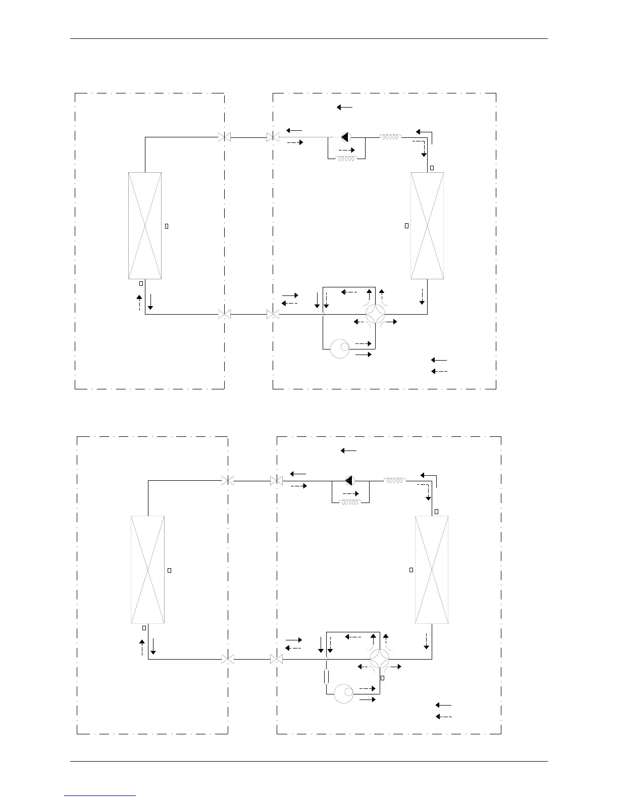
Piping Diagrams
Outdoor Units 67
3. Piping Diagrams
MOU-18HN1-QMOU-24HN1-QMOU-30HN1-QMOU-30HN1-R
LIQUID SIDE
GAS SIDE
HEAT
EXCHANGE
(EVAPORATOR)
HEAT
EXCHANGE
(CONDENSER)
COMPRESSOR
2-WAY VALVE
3-WAY VALVE
4-WAY VALVE
COOLING
HEATING
T2 Evaporator
temp. sensor
T1 Room temp.
sensor
T3 Condenser
temp. sensor
INDOOR OUTDOOR
T4 Ambient
temp. sensor
CHECK VALVE
(Heating Model only)
CAPILIARY TUBE
MOU-36HN1-QMOU-36HN1-R
LIQUID SIDE
GAS SIDE
HEAT
EXCHANGE
(EVAPORATOR)
HEAT
EXCHANGE
(CONDENSER)
COMPRESSOR
2-WAY VALVE
3-WAY VALVE
4-WAY VALVE
COOLING
HEATING
T2 Evaporator
temp. sensor
T1 Room temp.
sensor
T3 Condenser
temp. sensor
ACCUMULATOR
INDOOR OUTDOOR
T4 Ambient
temp. sensor
CHECK VALVE
(Heating Model only)
CAPILIARY TUBE
T5 Discharge temp. sensor

Table of Contents

Related product manuals