EasyManua.ls Logo

Midea MRCT-200CWN1-R(C) - Page 109

Midea MRCT-200CWN1-R(C)
132 pages
Print Icon
To Next Page IconTo Next Page
To Next Page IconTo Next Page
To Previous Page IconTo Previous Page
To Previous Page IconTo Previous Page
Loading...
RooftopClimaCreatorseries
DM16‐01.01.27en
Service manual 109
MRCT-085CWN1-R(C), MRCT-100CWN1-R(C), MRCT-125CWN1-R(C),
MRCT-150CWN1-R(C), MRCT-175CWN1-R(C), MRCT-200CWN1-R(C),
MRCT-250CWN1-R(C), MRCT-300CWN1-R(C):
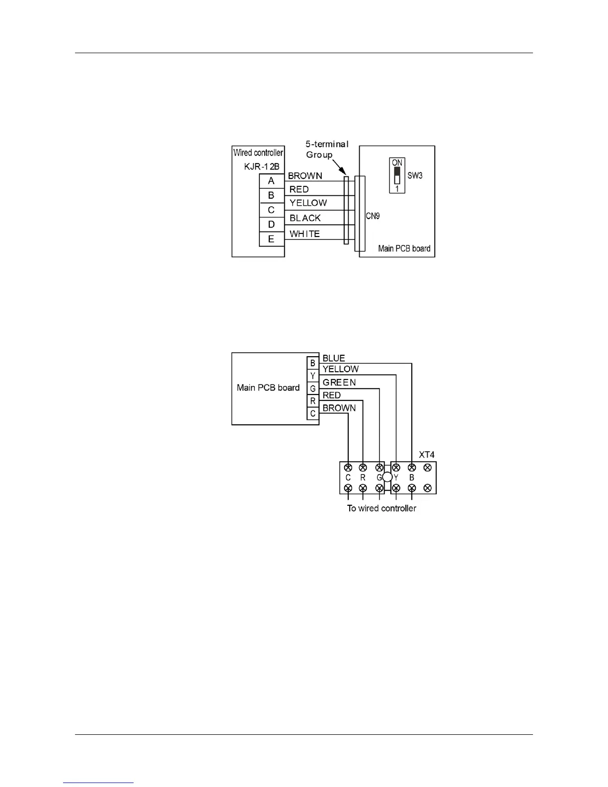
The standard wired controller model of these units is KJR-12B/dp(T)-E. When KJR-12B is
connected, the switch SW3 should be set to ON.
MRCT-062CWN1-R(C), MRCT-075CWN1-R(C):
The standard wired controller model of these units is KJR-25B.
The standard wired controller model of these units is KJR-23B. When KJR-23B is
connected, the switch SW3 should be set to 1.

Related product manuals