EasyManua.ls Logo

Miele 30" Induction Range - Control Panel

Miele 30" Induction Range
144 pages
Print Icon
To Next Page IconTo Next Page
To Next Page IconTo Next Page
To Previous Page IconTo Previous Page
To Previous Page IconTo Previous Page
Loading...
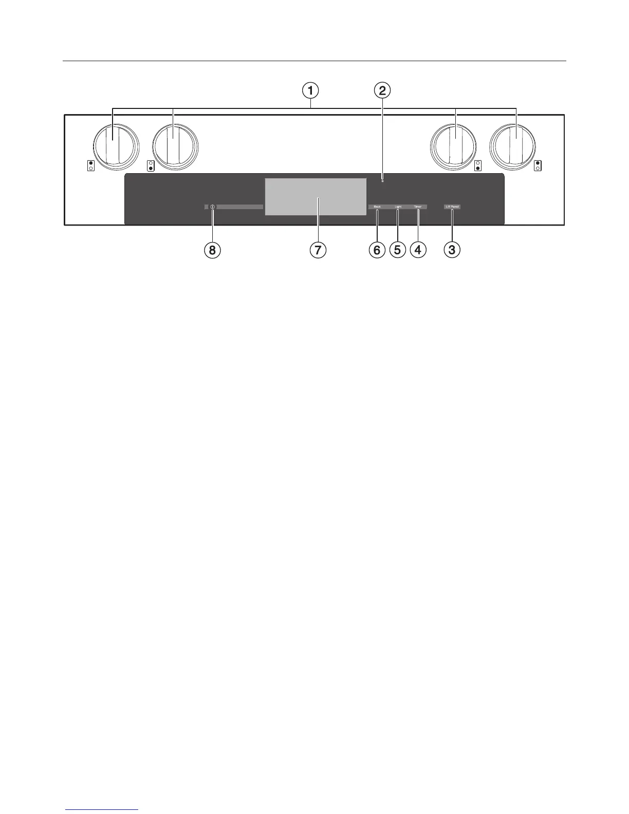
Control panel
30
a
Burner control knobs
b
Optical interface
(for service technician use only)
c
"Lift Panel" sensor button
For lifting up the control panel
d
"Timer" sensor button
For setting the timer
e
"Light" sensor button
For turning the oven interior lighting on and off
f
"Back" sensor button
To go back one step at a time
g
M Touch Display
Displays the time of day and information on operation
h
On/Off butt
on
Turns the appliance on and off

Table of Contents

Related product manuals