EasyManua.ls Logo

Miele CSDA 7001 FL - Page 40

Miele CSDA 7001 FL
80 pages
Print Icon
To Next Page IconTo Next Page
To Next Page IconTo Next Page
To Previous Page IconTo Previous Page
To Previous Page IconTo Previous Page
Loading...
Installation
*INSTALLATION*
40
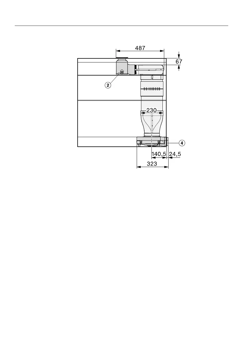
Front view

Related product manuals