EasyManua.ls Logo

Miele CSDA 7001 FL - Page 66

Miele CSDA 7001 FL
80 pages
Print Icon
To Next Page IconTo Next Page
To Next Page IconTo Next Page
To Previous Page IconTo Previous Page
To Previous Page IconTo Previous Page
Loading...
Installation
*INSTALLATION*
66
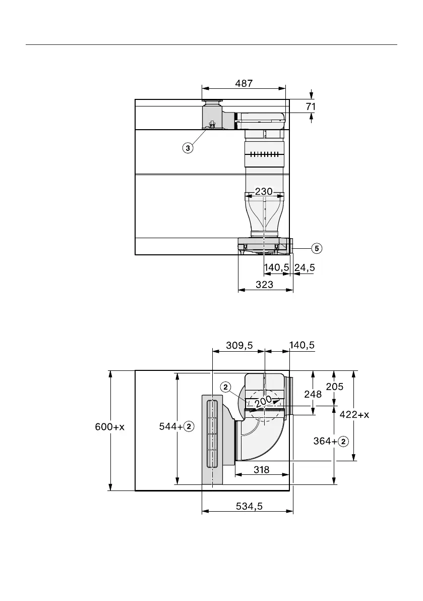
View from the front – right air duct connection
View from above – right air duct connection

Related product manuals