EasyManua.ls Logo

Miele DA 200 - Da 220, da 220 Ext

Miele DA 200
28 pages
Print Icon
To Next Page IconTo Next Page
To Next Page IconTo Next Page
To Previous Page IconTo Previous Page
To Previous Page IconTo Previous Page
Loading...
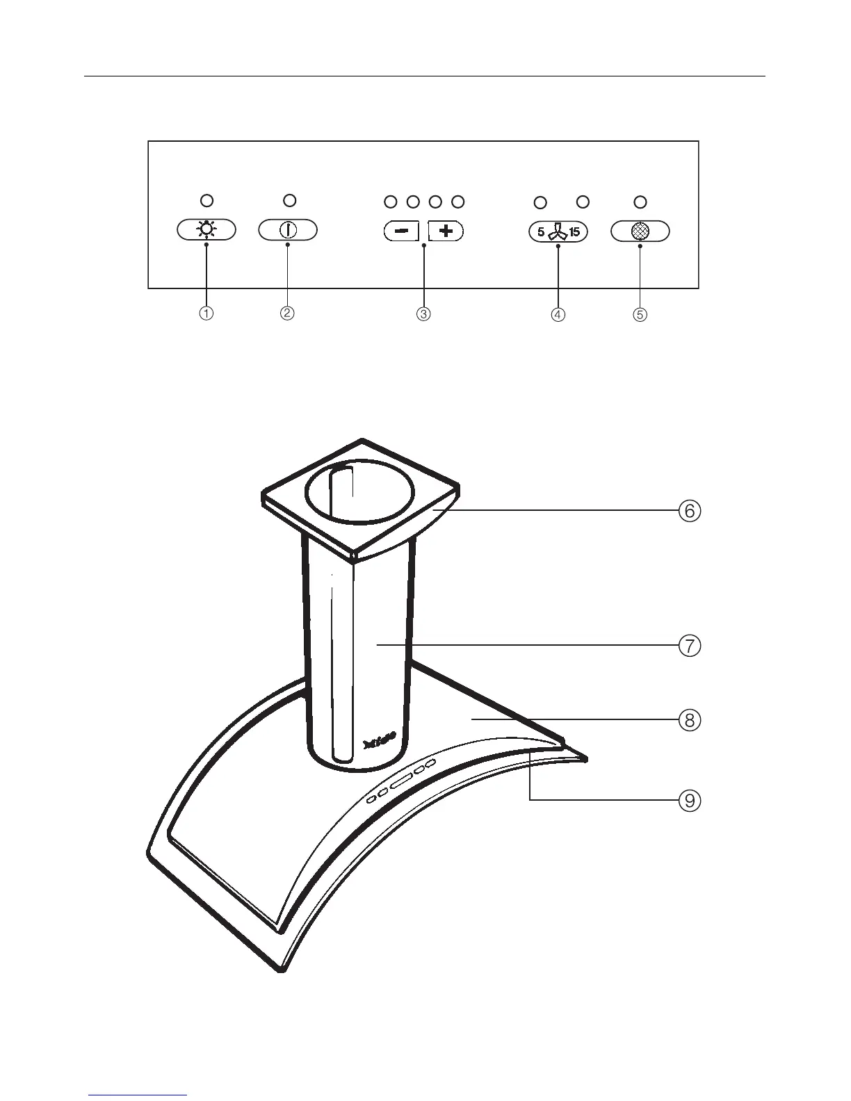
DA 220, DA 220 EXT
b
Touch control for hob lighting
c On/Off touch control
d Touch control - power level
g Cover frame
h Tower
e Touch control for the run-on option
f Touch control for the grease filter(s)
i Vapour guide
j Main switch
Guide to the appliance
11

Related product manuals