EasyManua.ls Logo

Miele DA 206 - Page 24

Miele DA 206
36 pages
Print Icon
To Next Page IconTo Next Page
To Next Page IconTo Next Page
To Previous Page IconTo Previous Page
To Previous Page IconTo Previous Page
Loading...
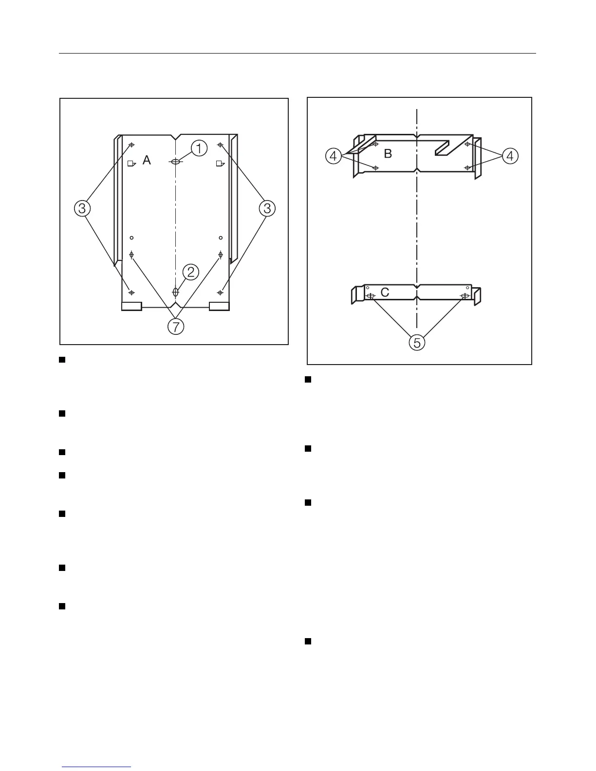
Retaining plate A
Drill a hole b 8 mm Ø above the
worktop at a distance of
s + 425 mm.
Drill another hole
c
8 mm Ø
325 mm underneath the first hole
b.
Press S8 plugs into the drilled holes.
Screw on the retaining plate using
5 x 40 mm screws and adjust.
Drill 4 more holes d 8 mm Ø through
the now mounted retaining plate and
press S8 plugs into the holes.
Screw in 4 screws 5 x 40 mm into
the plugs.
Drill 2 holes
h
8 mm Ø to be used
later to secure the vapour guide and
press S8 plugs into the drilled holes.
Retaining plate B
Address the top retaining plate B
flush to the room ceiling and mark
the positions on the wall of the 4
bore holes
e to be drilled.
With a 6 mm Ø bit drill the 4 holes in
the wall and then press the S6 plugs
in the holes.
Screw in the top retaining plate with
4 screws 4 x 30 mm and 4.3 under-
lying washers.
If the measurement y from the top edge
of the hood to the ceiling is greater
than measurement z, it will be necess-
ary to fit retaining plate C for the tele-
scopic extension piece (see chart).
Hold the plate C in place so that the
distance between the ceiling and
bottom edge of the plate is z and
mark the positions for the 2 holes
f
to be drilled.
Installation
24

Related product manuals