EasyManua.ls Logo

Miele DA 6698 D - Appliance Dimensions and Height

Miele DA 6698 D
68 pages
Print Icon
To Next Page IconTo Next Page
To Next Page IconTo Next Page
To Previous Page IconTo Previous Page
To Previous Page IconTo Previous Page
Loading...
Installation
42
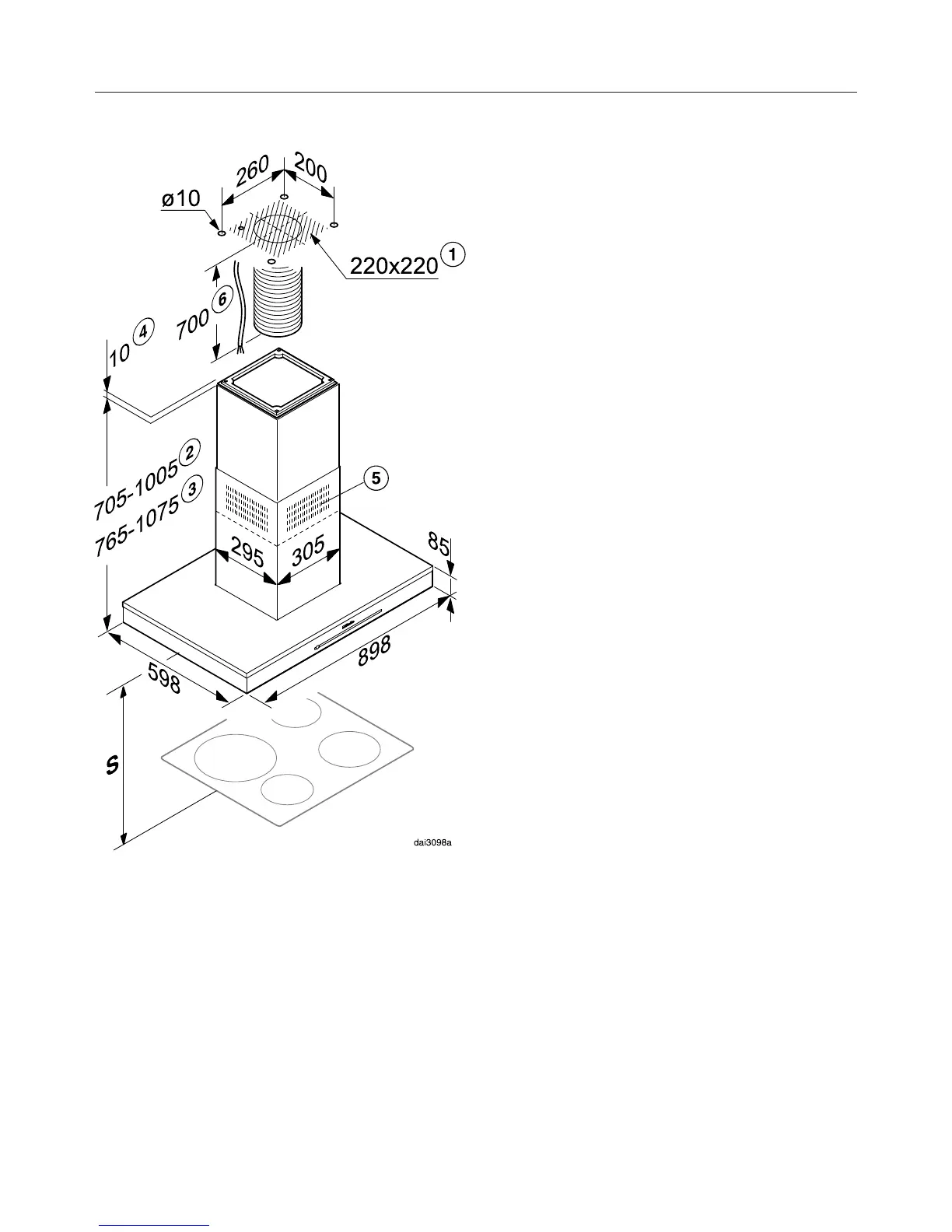
Appliance dimensions
a
Installation area: cut-out for feeding
through the exhaust ducting, the
mains cable and with ...EXT models,
the connection cable to the external
motor. In recirculation mode, only
the mains cable is required.
b
Possible height range for appliance
in extraction mode
c
Possible height range for appliance
in recirculation mode
d
Alternative installation with spacer
frame
e
Ventilation grille positioned at the
top for recirculation
f
A mains connection cable is required
to connect the cooker hood to the
socket in the ceiling. With extraction
mode flexible ducting is also
required.
Exhaust connection 150 mm

Table of Contents

Related product manuals