EasyManua.ls Logo

Miele DG 4060 - Page 76

Miele DG 4060
80 pages
Print Icon
To Next Page IconTo Next Page
To Next Page IconTo Next Page
To Previous Page IconTo Previous Page
To Previous Page IconTo Previous Page
Loading...
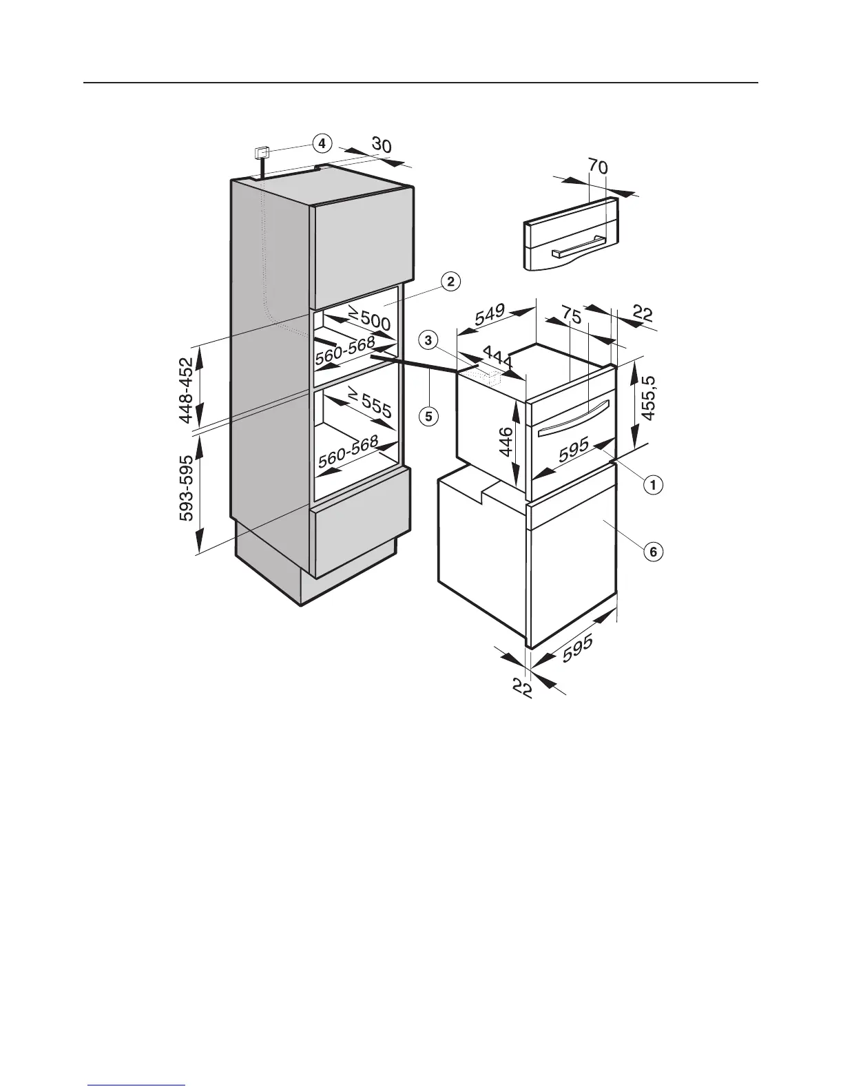
Installation in a tall unit in combination with an oven
a Steam oven
b Building-in recess
c Inlet for mains connection cable to the appliance
d Recommended position for electrical socket.
Important: Do not position behind the appliance!
e Mains connection cable
f Oven
Installation
76

Table of Contents

Related product manuals