EasyManua.ls Logo

Miele F1411VI - Page 50

Miele F1411VI
76 pages
Print Icon
To Next Page IconTo Next Page
To Next Page IconTo Next Page
To Previous Page IconTo Previous Page
To Previous Page IconTo Previous Page
Loading...
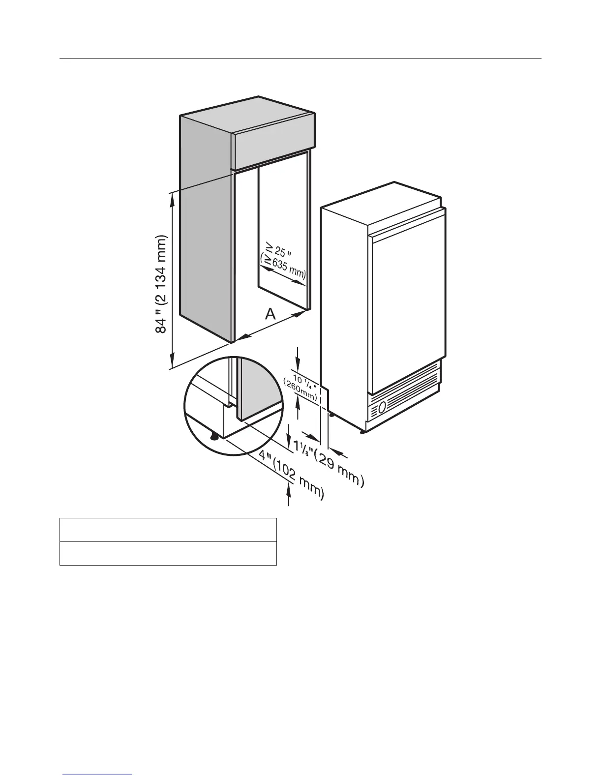
Niche dimensions
Niche width (A)
F 1411 Vi 18" (457 mm)
Dimensions
50

Table of Contents

Other manuals for Miele F1411VI

Related product manuals