EasyManua.ls Logo

Miele F1411VI - Appliance Dimensions; Door and Niche Dimensions

Miele F1411VI
76 pages
Print Icon
To Next Page IconTo Next Page
To Next Page IconTo Next Page
To Previous Page IconTo Previous Page
To Previous Page IconTo Previous Page
Loading...
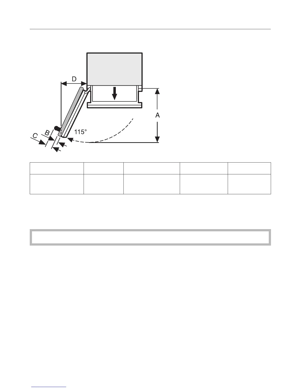
Door dimensions (open 115°)
AB CD
F 1411 Vi 20
11
/
16
"
(525 mm)
Door front max.
1 1/2" (38 mm)
Door
handle
9
3
/
16
"
(234 mm)
The dimensions of the door fronts and handles will vary according to each
individual kitchen.
Miele recommends using the full door opening angle of 115° for this freezer.
Dimensions
49

Table of Contents

Other manuals for Miele F1411VI

Related product manuals