EasyManua.ls Logo

Miele G 868 - Checking the Water Level

Miele G 868
68 pages
Print Icon
To Next Page IconTo Next Page
To Next Page IconTo Next Page
To Previous Page IconTo Previous Page
To Previous Page IconTo Previous Page
Loading...
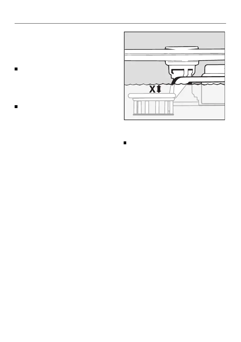
Checking the water level
Checking the water level.
If the water pressure is less than
14.5 psi (1 bar), too little water may
flow into the wash cabinet.
To check the water level, open the
water valve completely and run the
RINSE & HOLD program once (with-
out dishes), to bring water into the
system.
Start the RINSE & HOLD program
again. After approximately 3
minutes, open the door and remove
the lower basket from the machine.
The water level is correct when dimen-
sion ā€œ
Xā€ is at least 1/8" (4 mm).
If it measures less, the water intake
time must be increased.
Checking the water level
41

Table of Contents

Related product manuals