EasyManua.ls Logo

Mighty Mule FM231 - Sensor Placement; Determining Sensor Location; Transmitter Placement; Determining Transmitter Location

Mighty Mule FM231
8 pages
Print Icon
To Next Page IconTo Next Page
To Next Page IconTo Next Page
To Previous Page IconTo Previous Page
To Previous Page IconTo Previous Page
Loading...
Wireless Driveway Alarm Instruction Manual • 03.04.12 3
Sensor Placement
Determining Sensor Location
IMPORTANT: Clear an area 25 ft. in all directions of
metal tools, toys and automobiles, to prevent magnetic
disturbance during testing and installation.
DeterminetheoptimumlocationfortheSENSOR
using the information found in “Installation
Overview.”
Digaholeapproximately1ft.deepand1ft.long
within 2 ft. and parallel to the edge of the driveway.
PlacetheSENSORatintheholeandparallelto
the driveway.
KeeptheSENSORandthecableuncoveredat
this time.
DRIVEWAY
HOUSE or BUILDING
where RECEIVER is located
ROADWAY
TRANSMITTER
400 ft. Max
Wireless
SENSOR RANGE:
12 ft. radius (max)
SENSOR:
2 ft. from
driveway (max)
and 1 ft. deep
25 ft. from
neighbor’s
driveway
25 ft. from
roadway
Signal Cable
ChoosealocationfortheTRANSMITTERmodulethatisfar
enough from the driveway edge that vehicles are unlikely to
hit it.
RuntheSENSORcablethroughthePVCmountingpostand
plug it into the connector at the bottom of the Transmitter
module.
Leave2”to3”ofslackinthecabletopreventdamagetothe
connector when the transmitter is removed.
Testthechosenlocationbeforepermanentlytrenching
and setting the TRANSMITTER (see “Placing Receiver and
Testing System” section).
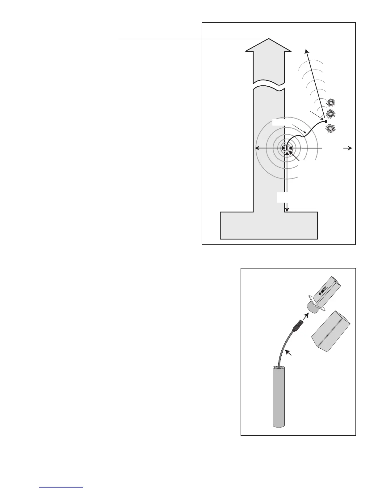
Transmitter Placement
Determining Transmitter Location
Connect Sensor Cable
to Transmitter Module
Leave 2” to 3” of slack
in the Sensor Cable
MIN MAX
SENSITIVITY
TRANSMITTER CODE
TRANSMITTING