EasyManua.ls Logo

Millennium Stereo150 - Page 69

Millennium Stereo150
116 pages
Print Icon
To Next Page IconTo Next Page
To Next Page IconTo Next Page
To Previous Page IconTo Previous Page
To Previous Page IconTo Previous Page
Loading...
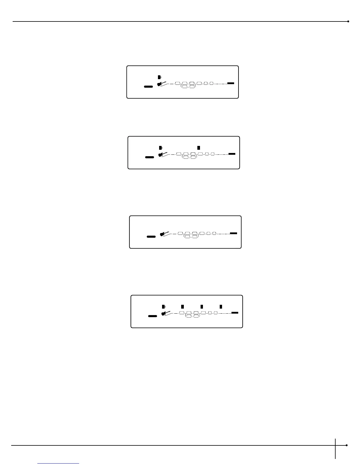
1. From Preset mode, you must get to the configuration screen by either pressing the <Edit> button and turning the <Preset/Effect>
wheel, or simply press the <Config> button until the display appears something like this:
2. Now turn the <Page> knob to page 2 and the display will appear like this:
3. Now turn the <1> knob making the Volume Pedal parameter active for assignment to an Expression pedal. Now press the <Assign>
button and the display will appear like this:
4. Now all you have to do is select the Expression Pedal that want to assign the Volume Pedal parameter control to and move the pedal and
the display will appear something like this:
5. Now that the assignment has been made, make sure that you store your changes and press the <Preset> button to return to Preset
mode.
Vol Pd Exp 1 Min[100]Max
2
FACTORY USER
%kHz
msdB
On
1
CHANGEDLINK
Pdl
2
CHANGEDLINK
Off
3
CHANGEDLINK
100
4
PAGE
1
OF
19
WAH TUBE EQ
L/R OUTS
L/R OUTS
#
b
GATE
BANK
EQDIST
Select a Contrl F.Switch
2
FACTORY USER
CHANGEDLINK CHANGEDLINK CHANGEDLINK
WAH TUBE EQ
L/R OUTS
L/R OUTS
#
b
GATE
EQDIST
Vol Pdl Morph Pdl
2
FACTORY USER
%
100
1
CHANGEDLINK CHANGEDLINK
%
0
3
CHANGEDLINK
PAGE
2
OF
2
WAH TUBE EQ
L/R OUTS
L/R OUTS
#
b
GATE
BANK
EQDIST
Config: Series 2,2
2
FACTORY USER
%kHz
msdB
1
1
CHANGEDLINK
CHANGEDLINK CHANGEDLINK
PAGE
1
OF
2
WAH TUBE EQ
L/R OUTS
L/R OUTS
#
b
GATE
BANK
EQDIST
Johnson Millennium
User Guide
Section - 5 Advanced Topics
61

Table of Contents