EasyManua.ls Logo

Minolta alpha5 - Page 118

Minolta alpha5
121 pages
Print Icon
To Next Page IconTo Next Page
To Next Page IconTo Next Page
To Previous Page IconTo Previous Page
To Previous Page IconTo Previous Page
Loading...
REPAIRGUIDE
=|
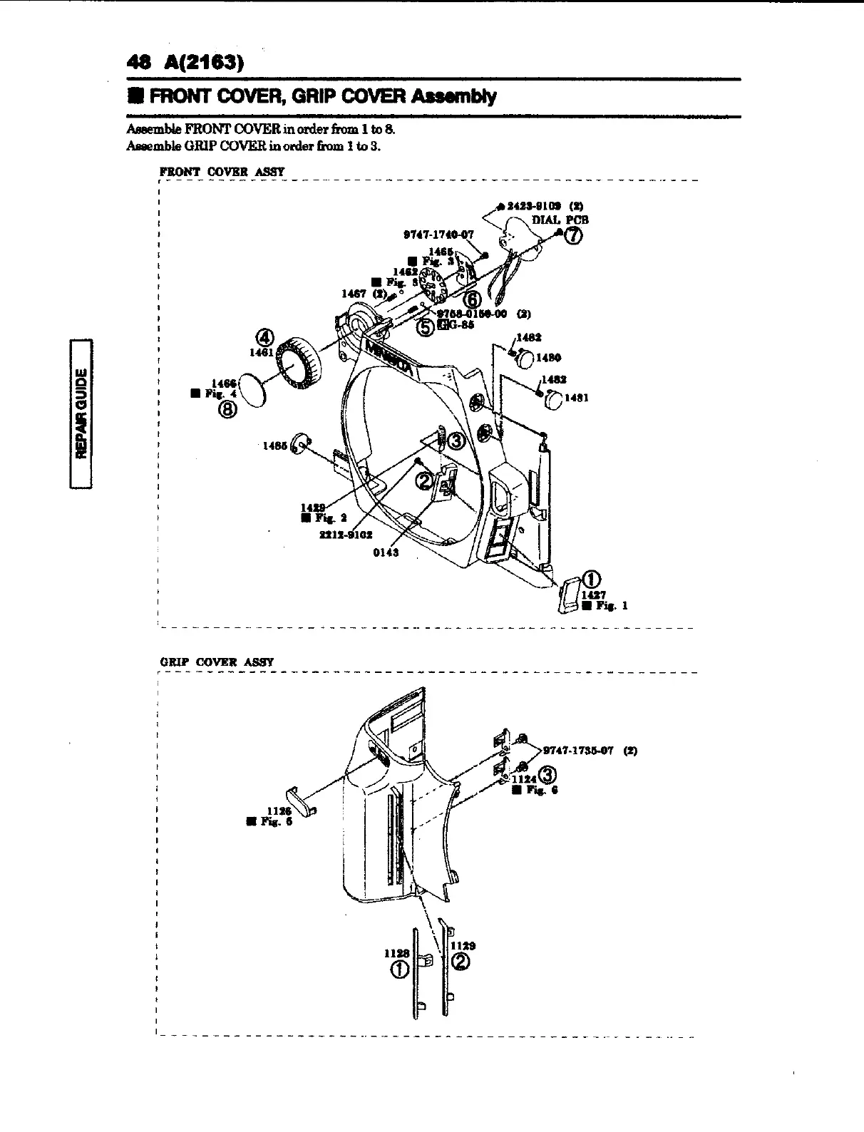
48
A(2163)
@
FRONT
COVER,
GRIP
COVER
Assembly
Assemble
FRONT
COVER
in
order
from
1
to
8.
Assemble
GRIP
COVER
in
order
from
1
to
3.
FRONT
COVER
ASSY
©2423-9109
(2)
<
DIAL
PCB
SS
9747-1740-07
Ss
STAT-1735-07
(2)
a,

Related product manuals