EasyManua.ls Logo

Mistral DRINKPAD - User Guide; Operating Indicators; Exploded View Diagram

Mistral DRINKPAD
Print Icon
To Next Page IconTo Next Page
To Next Page IconTo Next Page
To Previous Page IconTo Previous Page
To Previous Page IconTo Previous Page
Loading...
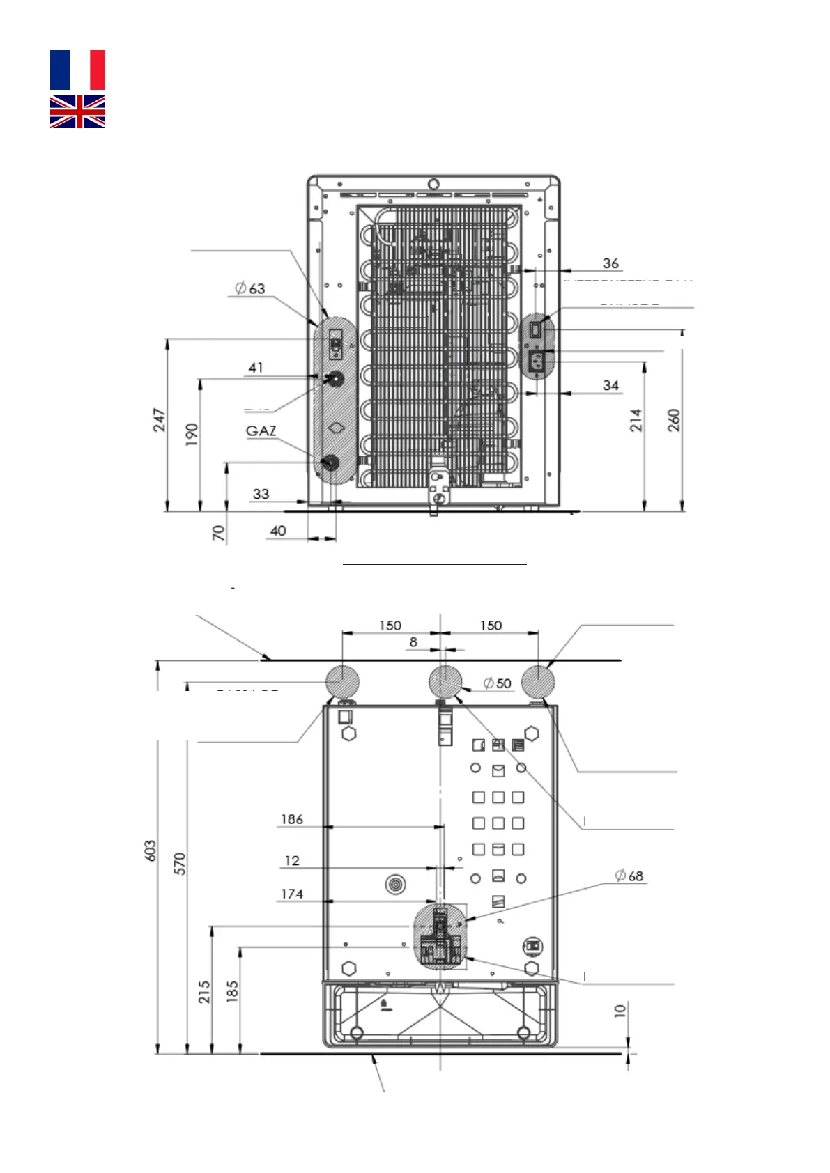
VUE ÉCLATÉE
EXPLODED VIEW
Interupteur EC / Hot water switch
Alimentation / Power
Eau / Water
Zone d’ouverture /
Opening area
Vue de dos / Back view
25
Passage alim. électrique /
Passage to power supply
Passage évacuation /
Passage for draining
Zone d’ouverture /
Opening area
Passage alim. CO2 / H2O / Watersafe
Passage to CO2 / H2O / Watersafe
Zone d’ouverture /
Opening area
Arrière plan de travail /
Back of the worktop
Avant plan de travail /
Before the worktop

Related product manuals