EasyManua.ls Logo

Modena ES 10D - Power Socket Connection and Placement

Modena ES 10D
42 pages
Print Icon
To Next Page IconTo Next Page
To Next Page IconTo Next Page
To Previous Page IconTo Previous Page
To Previous Page IconTo Previous Page
Loading...
9
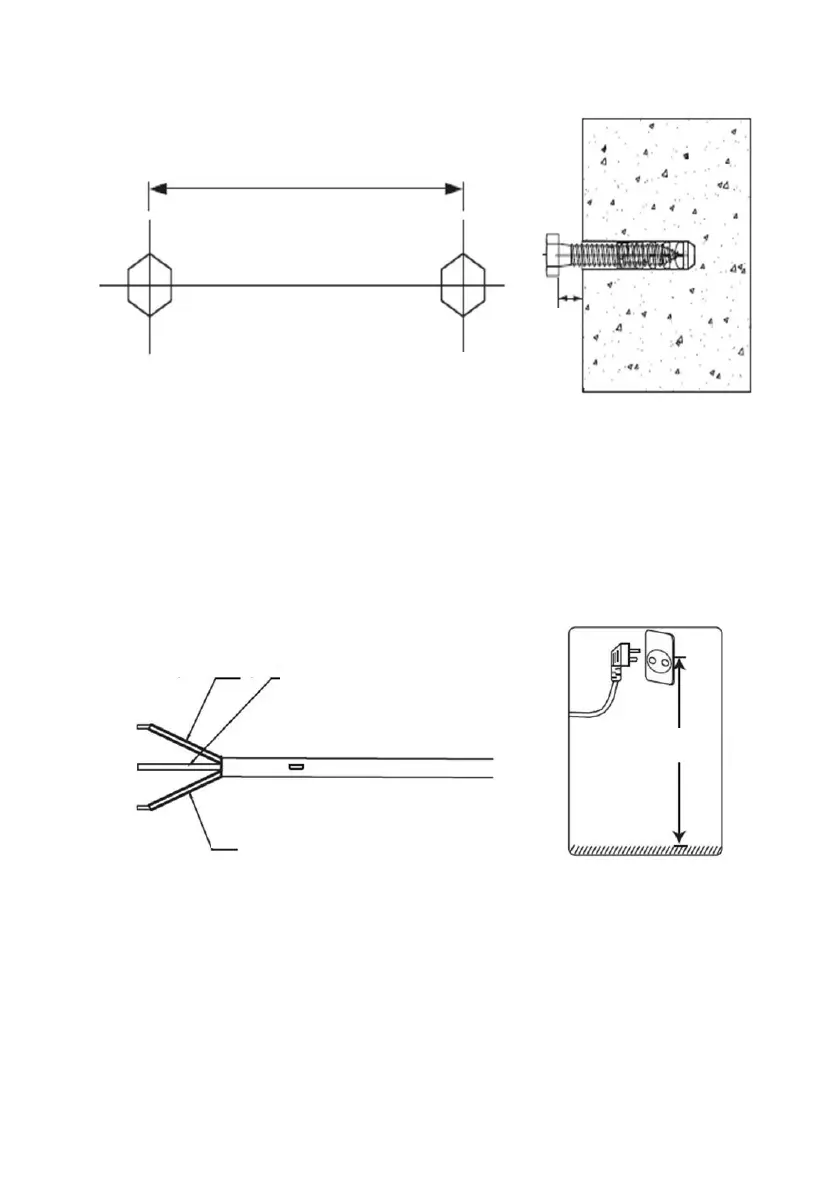
Connect the power plug to the Installed power socket on the wall.
The power supply for this appliance is 220V. The power socket is
recommended to be placed on the right above the water heater.
The height of the power socket from the ground should not be less
than 1.8 m (see Picture 7). If there is a problem on the power cord,
it should be replaced by MODENA agencies or qualified person
who is able to do the repair so as to ensure the safety.
If the size of the bathroom is too small, the water heater can be
installed at another place. However, the water heater should be
installed closely to the stand-point of its usage to optimize the heat
of the water.
Picture 6b
Picture 7
300 mm
10 mm
E (Yellow/Green)
L (Brown)
N (Blue)
Ground
≥1.8 m

Other manuals for Modena ES 10D

Related product manuals