EasyManua.ls Logo

Modena GI 10 S - Installation for the Hanger Must be Horizontal; Water Heater Hanger

Modena GI 10 S
Print Icon
To Next Page IconTo Next Page
To Next Page IconTo Next Page
To Previous Page IconTo Previous Page
To Previous Page IconTo Previous Page
Loading...
English 17
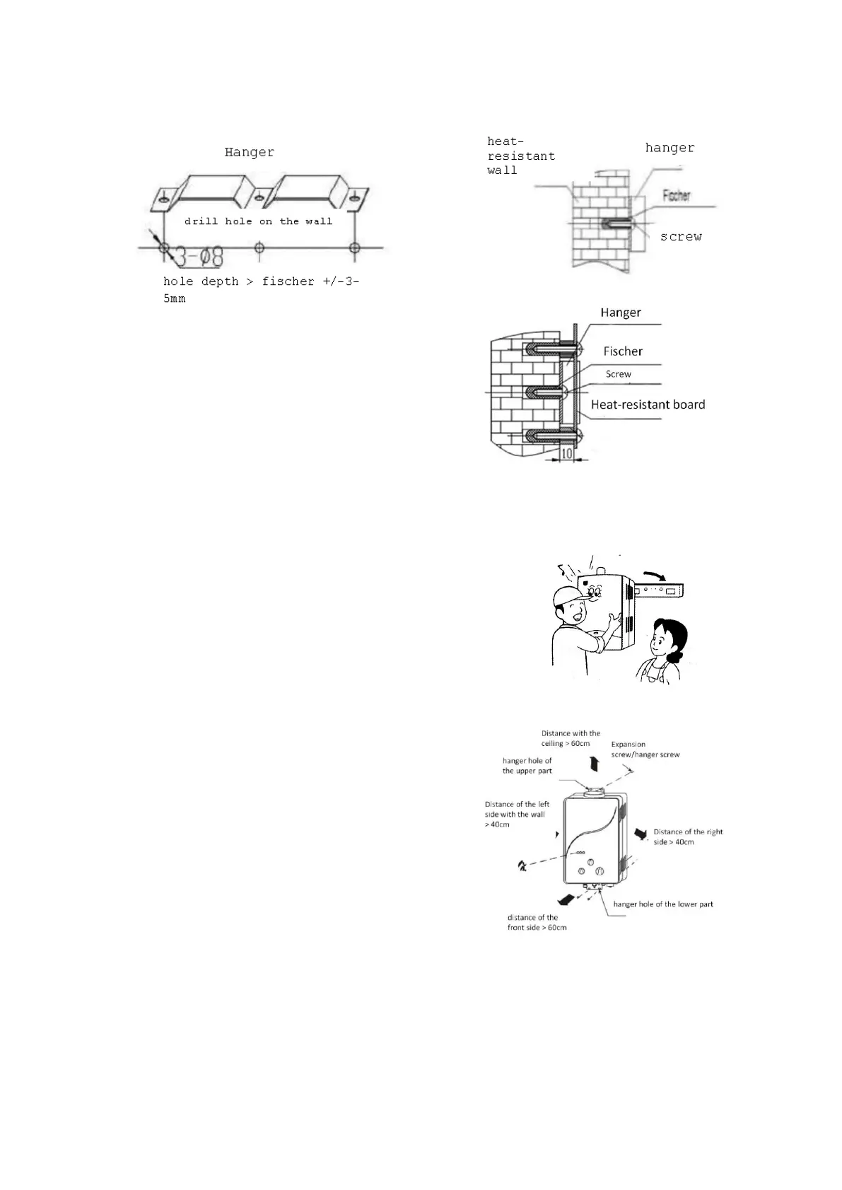
Installation for the hanger must be horizontal
If the wall is not resistant to heat, it is wise to be coated
with a heat-resistant board, 100mm bigger than the water
heater of every sides and 10mm from the wall.
Water heater hanger
Water heater hanger is hanged vertically. The
height standard of the water heater is adjusted with
the position of the fire peephole parallel to the eye.
Installation of the heater must be given distance
between the heater and the wall/ceiling (look at
picture)
The room where the water heater is installed must
have hole for air inflow and air outflow with the
access to out of the room, each of the hole is
100cm
2
and placed around the floor and ceiling.
The position of the hole must be far from the air
outflow pipe to avoid the air collision. If the closing
gap is installed to the hole, then the distance
between the leaves on the closing gap is minimum
8mm.

Related product manuals