EasyManua.ls Logo

Monogram PHANTOM P-51D MUSTANG - Step 7: Gear and Motor Installation

Monogram PHANTOM P-51D MUSTANG
33 pages
Print Icon
To Next Page IconTo Next Page
To Next Page IconTo Next Page
To Previous Page IconTo Previous Page
To Previous Page IconTo Previous Page
Loading...
Kit 0067 - Page 24
Kit 0067 - Page 9
27
28
30
31
33
32
35
34
112
CLEAR
112
111
CLEAR
110
CLEAR
110
CLEAR
109
109
109
90
91
7
81
80
82
80
2
1
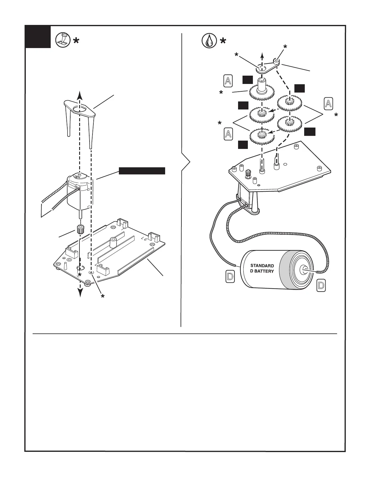
NYLON
GEAR
WIRE LEADS
ELECTRIC MOTOR
1
st
2
nd
3
rd
4
th
5
th
A
D
D
A
A
A
K
K
K
K
K
K
A. Carefully trim any excess plastic from
teeth on part 80 and 81 before assembly.
B. Apply a thin film of lubricant on each gear
tooth for quiet, smooth operation.
C. Apply cement to inside of hole on part 2
and let set for one hour.
D. Touch ends of wire leads to opposite
ends of a fresh battery to check gear
operation.
E. If motor does not run, turn the nylon gear
and touch wire leads to the battery again.
F. Allow the motor to run for about five
minutes to “break in” the gear assembly.
A. Coupez avec précaution l'excédent de plastique
des dents sur les pièces 80 et 81 avant l'assemblage.
B. Appliquez une fine pellicule de lubrifiant sur
chaque dent d'engrenage pour un fonctionnement
silencieux et en douceur.
C. Appliquez la colle à l'intérieur du trou sur la pièce
82 et laissez prendre sa prise pendant une heure.
D. Touchez les extrémités des fils conducteurs aux
extrémités opposées d'une nouvelle batterie pour
vérifier le fonctionnement de l'engrenage.
E. Si le moteur ne fonctionne pas, tournez la roue
dentée en nylon et mettez en contact à nouveau le
fil à la batterie.
F. Laissez le moteur tourner pendant environ cinq
minutes pour « roder » le montage d'engrenage.
A. Recorte con cuidado el exceso de plástico
de los dientes en las piezas 80 y 81 antes del
ensamblaje.
B. Aplique una capa delgada de lubricante en
cada diente de engranaje para una operación
suave y silenciosa.
C. Aplique pegamento en el interior del orificio
en la pieza 82 y déjelo reposar durante una
hora.
D. Toque los extremos de los cables a los
extremos opuestos de una batería nueva para
comprobar el funcionamiento del engranaje.
E. Si el motor no funciona, gire el engranaje
de nailon y toque los cables con la batería de
nuevo.
F. Permita que el motor funcione durante unos
cinco minutos para "activar" el ensamblaje del
engranaje.
Note: 1.5v batteries not included
A. Slip part 110 under slot as shown and
insert pin into hole in part 90 and 91.
A. Glissez la pièce 110, sous la fente comme
indiqué et insérez la goupille dans le trou dans
les pièces 90 et 91.
A. Deslice la pieza 110 debajo de la ranura
como se muestra e inserte el pasador en el
agujero de las piezas 90 y 91.
Remarque: Les batteries de 1.5v ne sont pas incluses
Nota: Las baterías de 1.5v no están incluidas

Related product manuals