EasyManua.ls Logo

Morphy Richards ESSENTIALS BAGLESS VACUUM CLEANER - Operating the Appliance; Assembly and Hose Fitting; Control Panel and Functions

Morphy Richards ESSENTIALS BAGLESS VACUUM CLEANER
8 pages
Print Icon
To Next Page IconTo Next Page
To Next Page IconTo Next Page
To Previous Page IconTo Previous Page
To Previous Page IconTo Previous Page
Loading...
44
OPERATING THE
APPLIANCE
ASSEMBLY
IMPORTANT: Switch off before
fitting or removing accessories.
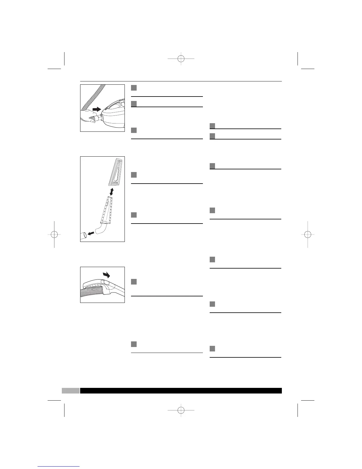
Fitting the flexible
hose
Insert the flexible hose
connector in the hose inlet
duct · at the front of the
product. Press until it clicks into
position A.
Removing the flexible
hose
Press the hose connector
release button to release the
flexible hose. Pull the hose
firmly from the hose inlet duct.
Fitting the telescopic
tube and accessories
Attach the telescopic tube Ï to
the handle end Á of the hose.
Extend to the required length by
pressing down the slider release
and pulling out the tube.
Attach the floor nozzle Ê to the
telescopic tube and set the floor
nozzle lever to the appropriate
position.
Using the stair and
hair tool
(certain models only)
Attach the stair and hair tool Û
to the hose handle Á B.
This tool Û is suitable for
cleaning the stairs, and when
the additional attachment is
added, it is ideal for picking up
human and pet hair.
Other accessories
include:
Crevice tool È for awkward
places, corners and behind
radiators etc.
Brush attachment Í for
pelmets, delicate objects etc.
Upholstery nozzle Ë for sofas,
armchairs etc.
Tools can be stored on the tool
storage clip Î that slides onto
the telescopic tube.
CONTROLS
On/off control
Press the on/off switch to
start the machine, press again
to turn off.
Eco Switch
The Eco Switch ¤ allows you
to turn down the power when
cleaning more delicate items,
such as curtains and upholstery,
saving energy and reducing
running costs.
Suction control on
the handle
The suction power can be
adjusted using the fingertip
control on the handle C.
Closed: full suction
Open: low suction
2-position wheeled
floor nozzle
Ê
The brushes should be retracted
for use on carpets and extended
for use on hard floors, by
adjusting the lever on top of the
floor nozzle.
Turbo nozzle
(certain models only)
Ú
This nozzle is suitable for
cleaning and rejuvenating cut
pile carpets and is ideal for
picking up stubborn dirt and pet
hairs.
Cleaning the turbo
nozzle
(certain models only)
The turbo nozzle should be
regularly cleaned and any hairs
or fibres wrapped around the
brush bar removed to maintain
optimum performance.
A
C
UUKK HHeellpplliinnee 00884444 887711 00994499 RReeppllaacceemmeenntt PPaarrttss 00884444 887733 00771155 IIrreellaanndd HHeellpplliinnee 11880000 440099 111199
B
73206 rev2 11/6/08 09:53 Page 4

Related product manuals