EasyManua.ls Logo

Mountup MU0004 - Product Dimensions

Mountup MU0004
12 pages
Print Icon
To Next Page IconTo Next Page
To Next Page IconTo Next Page
To Previous Page IconTo Previous Page
To Previous Page IconTo Previous Page
Loading...
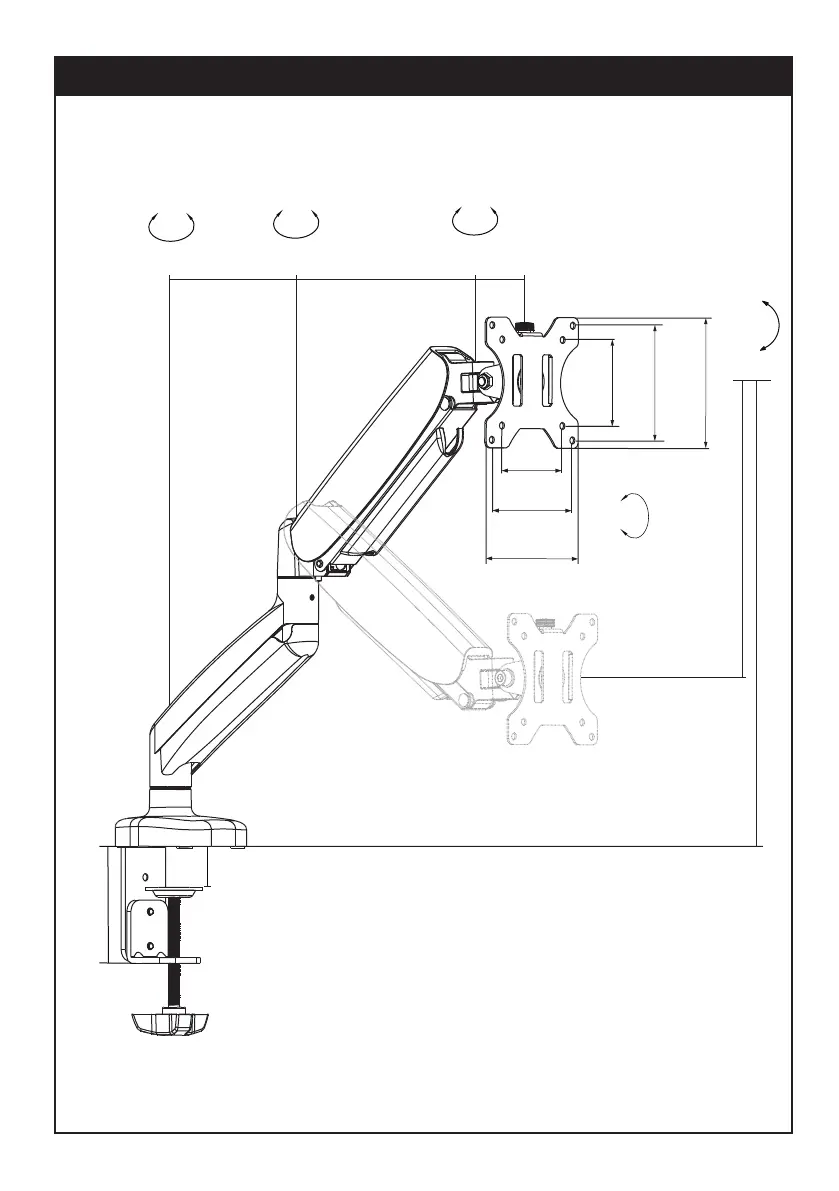
Product Dimensions
10
0.39-3.5"
3.9"
100mm
10-90mm
6.3“ 2.5“
6.9"-16.9"
-45°
+90°
7.87"-11"
360°
360°
180°
160mm
200mm-280mm 63mm
75mm
2.95"
3.94"
4.5"
100mm
114mm
75mm
100mm
114mm
2.95"
3.94"
4.5"
9.4"
240mm
175-430mm
360°

Related product manuals