EasyManua.ls Logo

MSI G2412 - Page 5

MSI G2412
33 pages
Print Icon
To Next Page IconTo Next Page
To Next Page IconTo Next Page
To Previous Page IconTo Previous Page
To Previous Page IconTo Previous Page
Loading...
5
Getting Started
G2422 / G2722
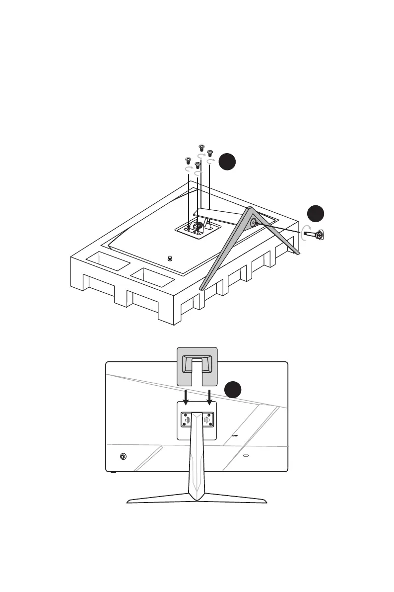
1. Leave the monitor in its protective foam packaging. Align the stand bracket to the
monitor groove. Tighten the stand bracket with screws.
2. Connect the base to the stand and tighten the base screw to secure the base.
3. Align and push the stand cover towards the monitor groove until it locks in place.
4. Make sure the stand assembly is properly installed before setting the monitor
upright.
1
2
3
3
1
2

Related product manuals