EasyManua.ls Logo

MSI MEG Z690 ACE - JSLOW1: Slow Mode Booting Jumper; JLN1~2: Low Temperature Booting Jumper

MSI MEG Z690 ACE
82 pages
To Next Page IconTo Next Page
To Next Page IconTo Next Page
To Previous Page IconTo Previous Page
To Previous Page IconTo Previous Page
Loading...
53
Overview of Components
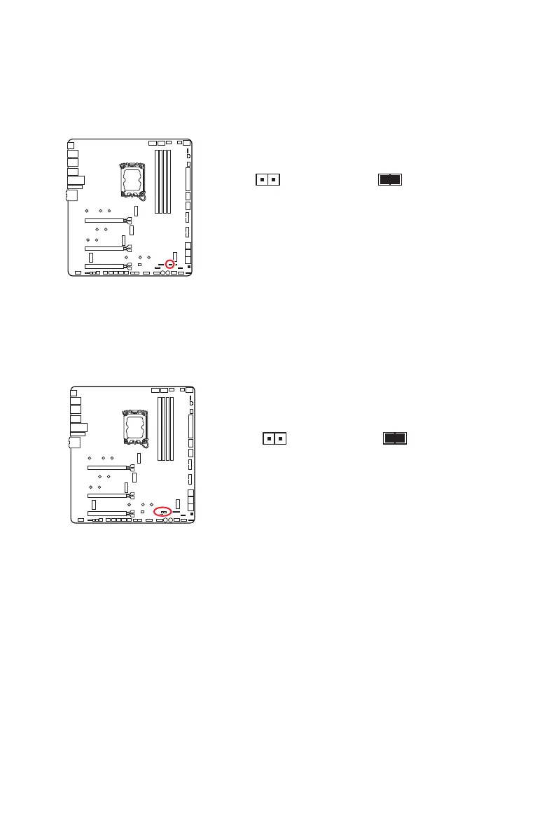
JSLOW1: Slow Mode Booting Jumper
This jumper is used for LN2 cooling solution, that provides the extreme overclocking
conditions, to boot at a stable processor frequency and to prevent the system from
crashing.
Normal
(Default)
Enabled
(Please enable this jumper
during BIOS POST.)
Enabled
(Please enable this jumper
during BIOS POST.)
Normal
(Default)
Important
Users will try extreme low temperature overclocking at their own risks. The
overclocking results will vary according to the CPU version.
Please don’t set to Enabled when power-off or the system will be un-bootable.
JLN1~2: Low Temperature Booting Jumper
This jumper is used for liquid nitrogen cooling system to boot at an extreme low
temperature. Try to set it Enabled to increase the boot success rate.

Table of Contents

Related product manuals