EasyManua.ls Logo

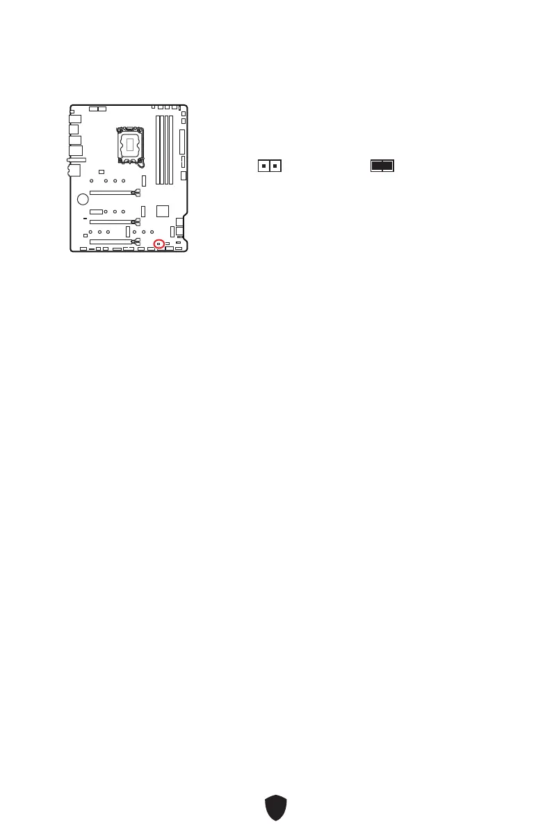
MSI PRO Z790-P WIFI DDR4 - Jci1: 机箱入侵检测接口

MSI PRO Z790-P WIFI DDR4
422 pages
Print Icon
To Next Page IconTo Next Page
To Next Page IconTo Next Page
To Previous Page IconTo Previous Page
To Previous Page IconTo Previous Page
Loading...
35
󴋠󶜖󱰪󱤤󴕐󴵙󳲝󲁅
󴨠󳲝󲁅󲁗󵭡󴌟󸶚󳲝󴋠󶜖󱰪󱤤󴕐󴵙󳒷󱱆󶵥
󴨟󳍆󺟢󸜍 󲂻󵭡󴋠󶜖󱰪󱤤󴕐󴵙
󱣎󵭡󴋠󶜖󱰪󱤤󴕐󴵙󲑠
1. JCI1󳲝󲁅󸶚󳲝󴋠󶜖󱚗󵷜󴋠󶜖󱰪󱤤󴕐󴵙󳒷󱱆󲅈󱠿󳡑󲑠
2. 󱱆󹢟󴋠󶜖󵹛
3. 󸳒󱵰BIOS > SETTINGS > Security > Chassis Intrusion Configuration
4. 󸜧󶹌Chassis Intrusion󱛝Enabled
5. 󳮡F10󱥦󲷜󳎫󸷱󱴤󽚟󵑐󲂃󳮡Enter󹞚󸸉󳭮Yes
6. 󳕖󸜊󶛢󴋠󳒷󲂻󴃂󽚟󱚋󴂭󳪋󳒷󴋠󶜖󵹛󽚟󲽀󱠸󲖬󲾷󳍯󱚗󴄵󶈽󱚋󱛅󸚍󲃫󱥰󳜦
󹆢󸜧󴋠󶜖󱰪󱤤󴕐󴵙󸚍󲃫
1. 󸳒󱵰BIOS > SETTINGS > Security > Chassis Intrusion Configuration
2. 󸜧󶹌 Chassis Intrusion󱛝Reset
3. 󳮡F10󱥦󲷜󳎫󸷱󱴤󽚟󵑐󲂃󳮡Enter󹞚󸸉󳭮Yes

Table of Contents

Related product manuals