EasyManua.ls Logo

MTD YARD MACHINES 607 - Page 11

MTD YARD MACHINES 607
48 pages
Print Icon
To Next Page IconTo Next Page
To Next Page IconTo Next Page
To Previous Page IconTo Previous Page
To Previous Page IconTo Previous Page
Loading...
11
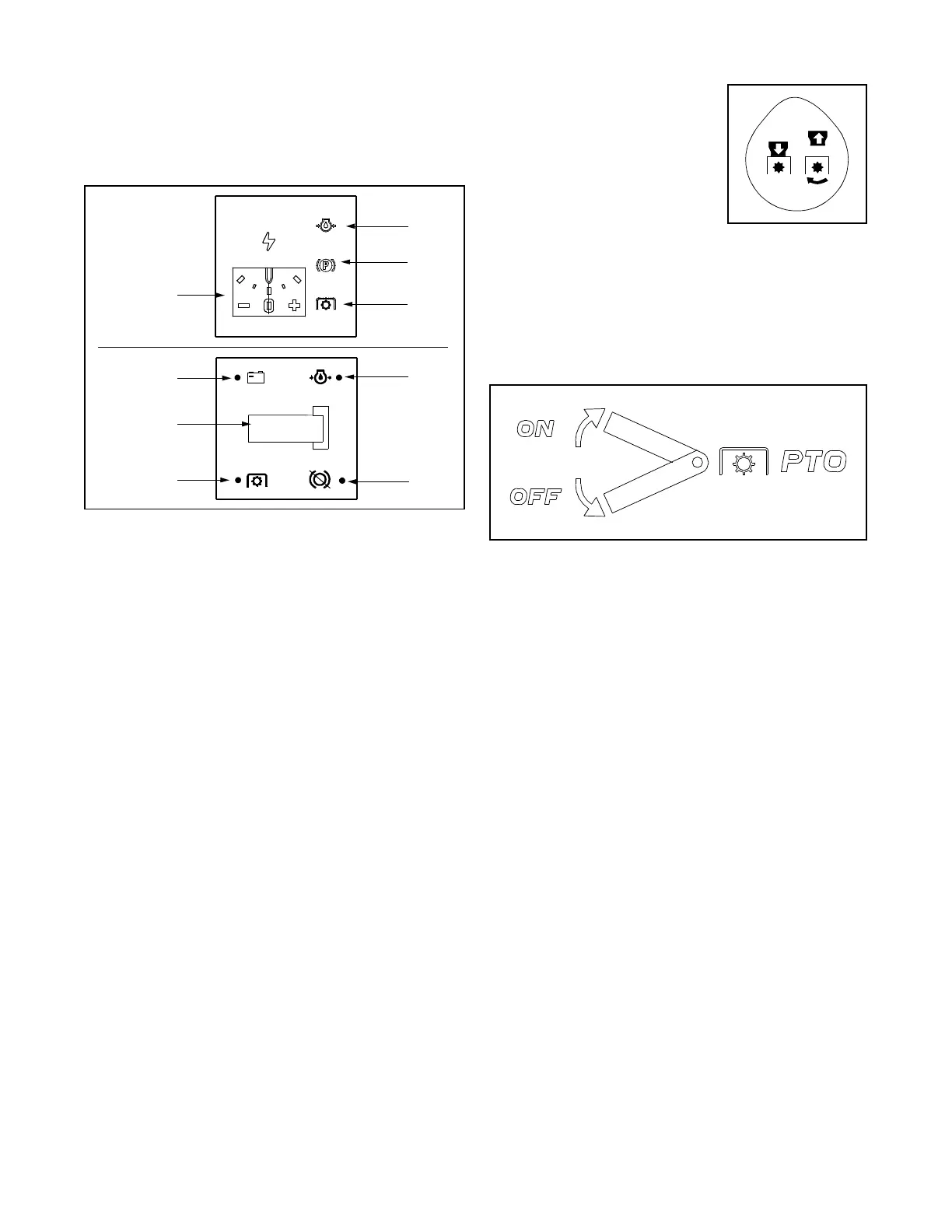
Systems Indicator Monitor
Your tractor is equipped with either an hour meter or an
ammeter as part of two available systems indicator
monitors. Locate the monitor on the left side of your
dash panel and compare it to both shown in Figure 5.
Figure 5
If the Brake light or PTO light illuminates when
attempting to start the unit, proceed as follows:
BRAKE Depress the brake pedal.
PTO Move PTO lever, or PTO knob into the
disengaged (OFF) position.
It is normal for the Oil light and the Battery light, if so
equipped, to illuminate while the engine is cranking,
but if either illuminates while the engine is running,
proceed as follows:
OIL Stop the tractor immediately and check
the crankcase oil level as instructed in
the Briggs & Stratton Operator/Owner
Manual (or Kohler engines Owners
Manual) included with your tractor.
BATTERY The battery is in need of a charge, or the
engines charging system is not
generating sufficient amperage. Refer to
the MAINTENANCE section of this manual
for the proper battery charging procedure
or have the charging system checked by
a Briggs & Stratton or Kohler engines
dealer.
On units so equipped, the ammeter measures the
electrical output of the engines charging system. Under
normal operating conditions, with the engine at full
throttle, the ammeters needle should measure a
positive charge.
The hour meter, on units so equipped, operates
whenever the engine is running and records the actual
hours of tractor operation.
Electric PTO
(Power Take-off) Knob
To engage the power to the
cutting deck or other (separately
available) attachments on
models equipped with an electric
PTO, pull outward on the PTO
knob. Push the PTO knob inward to disengage the
power to the cutting deck.
NOTE: The PTO knob must be in the disengaged
(OFF) position when starting the engine, when traveling
in reverse and if the operator leaves the seat.
PTO (Power Take-off) Lever
On models equipped with a manual PTO, the PTO lever
is located on the left side of the dashboard next to the
steering wheel. Move the PTO lever forward to engage
the power to the cutting deck or other (separately
available) attachments; move the PTO lever rearward
to disengage the power to the attachments.
NOTE: The PTO lever must be in the disengaged
(OFF) position when starting the engine, when traveling
in reverse and if the operator leaves the seat.
Seat Adjustment Lever
To adjust the seat forward or backward on units
equipped with a quick-adjust seat, slide the seat
adjustment lever to the left and reposition the seat to
the desired position. Once a comfortable position is
found, release the seat adjustment lever to lock the
seat in place. Refer to Seat Adjustment on page 17 of this
manual for more detailed instructions.
Deck Lift Lever
Found on your tractors right fender, the deck lift lever is
used to change the height of the cutting deck. To use,
move the lever to the left, then place in the notch best
suited for your application.
Cup Holder
The tractors cup holder, if so equipped, is located on
the fender to the left of the seat, just to the rear of the
shift lever.
Oil
Brake
PTO
AMPS
Ammeter
1/10
P
+
Battery
PTO
Oil
Brake
Hour Meter

Related product manuals