EasyManua.ls Logo

Multitek MB-41 MULTIBUS - Room Door Panel Connection for V-Type Monitors

Multitek MB-41 MULTIBUS
8 pages
Print Icon
To Next Page IconTo Next Page
To Next Page IconTo Next Page
To Previous Page IconTo Previous Page
To Previous Page IconTo Previous Page
Loading...
7
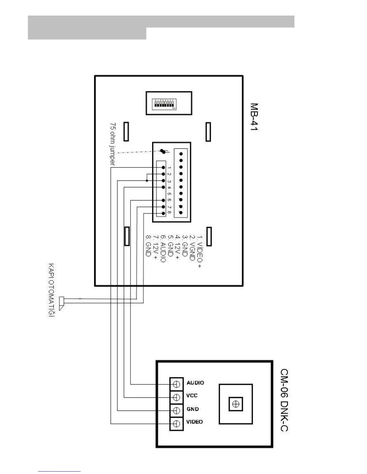
ROOM DOOR PANEL CONNECTION FOR THE V-TYPE
MONITORS (OPTIONAL)
In the multibus intercom system, you may setup “internal ring button with camera” to see the room
door entrance. The internal ring unit CM-06DNK-C or MB09M-PA wiring is done like the figure
below;

Related product manuals